授权公布号:CN212982069U
一种焊丝盘固定装置
有效
申请
2020-06-11
申请公布
1970-01-01
授权
2021-04-16
预估到期
2030-06-11
| 申请号 | CN202021063866.4 |
| 申请日 | 2020-06-11 |
| 授权公布号 | CN212982069U |
| 授权公告日 | 2021-04-16 |
| 分类号 | B65H67/04;B65H54/54;B65H54/70 |
| 分类 | 输送;包装;贮存;搬运薄的或细丝状材料; |
| 申请人名称 | 江苏中江焊丝有限公司 |
| 申请人地址 | 江苏省常州市新北区春江镇百丈 |
专利法律状态
2021-04-16
授权
状态信息
授权
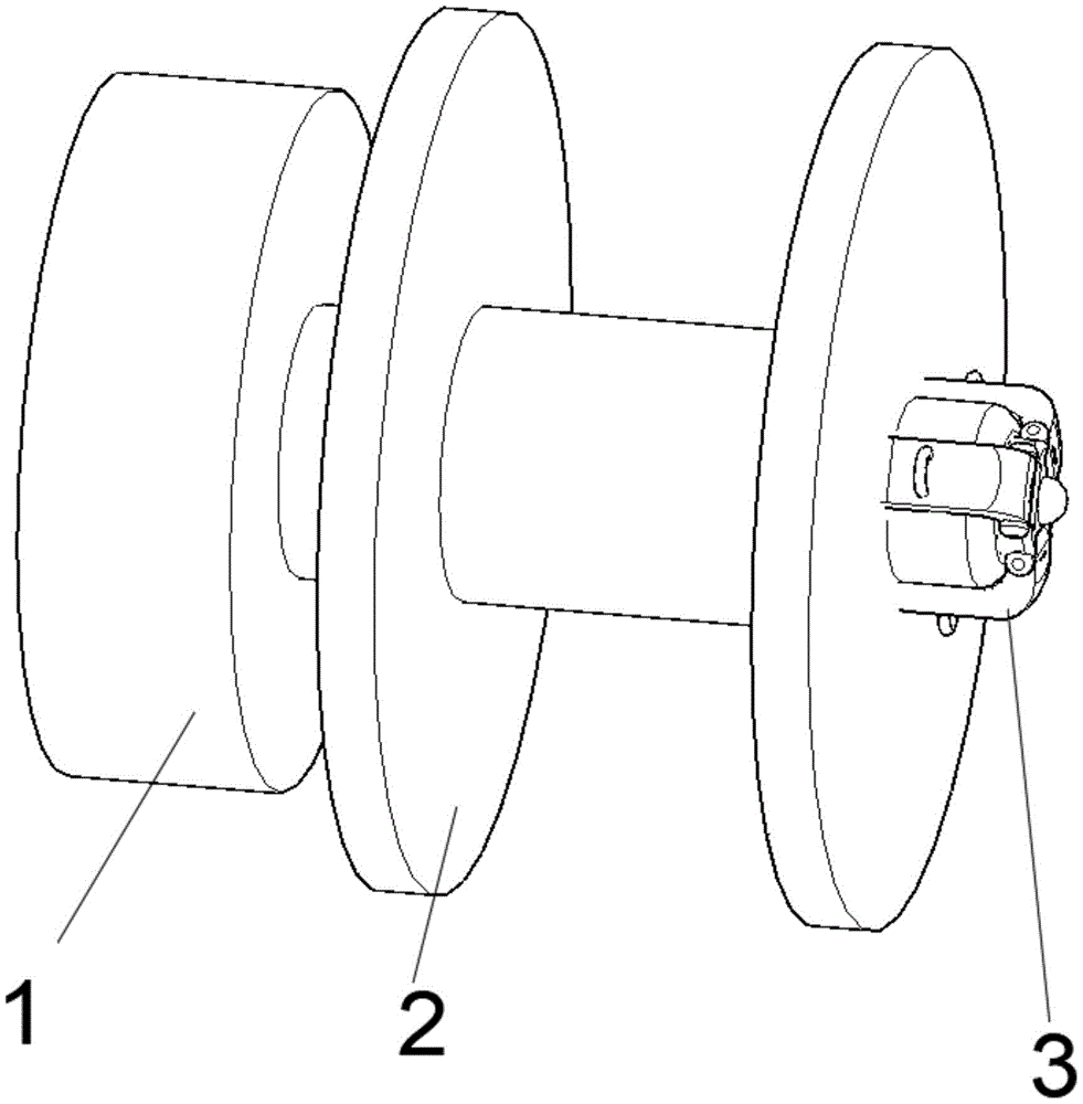
摘要
本实用新型公开了一种焊丝盘固定装置,包括卷线轴、焊丝盘和固定装置,所述焊丝盘固定套接在卷线轴的外表面,所述固定装置固定扣接在卷线轴的一端面,所述卷线轴的内部固定安装有插接轴,所述的一端面开设有插接孔,所述插接轴的一端边缘外表面均匀开设有扣接孔,所述固定装置的内部固定安装有插接块,所述插接块的一端外表面边缘活动铰接有挤压块,所述凹槽的两端边缘焊接有定位块,所述定位块的侧面中心焊接有定位轴,所述挤压块的一端边缘侧面开设有套接孔。本实用新型可以通过挤压块内侧面的扣接块与插接轴外表面的扣接孔相扣接,能够便于工作人员快速对固定装置进行安装和拆卸,从而提高对焊丝盘的更换效率。


