授权公布号:CN215901515U
一种具备减震功能的真石漆液压搅拌装置
有效
申请
2020-11-03
申请公布
1970-01-01
授权
2022-02-25
预估到期
2030-11-03
| 申请号 | CN202022507032.4 |
| 申请日 | 2020-11-03 |
| 授权公布号 | CN215901515U |
| 授权公告日 | 2022-02-25 |
| 分类号 | B01F31/44;B01F35/43;F16F15/067;B01F101/30N |
| 分类 | 一般的物理或化学的方法或装置; |
| 申请人名称 | 山东赛德丽新材料股份有限公司 |
| 申请人地址 | 山东省济宁市金乡县胡集镇济宁化学工业开发区 |
专利法律状态
2022-02-25
授权
状态信息
授权
摘要
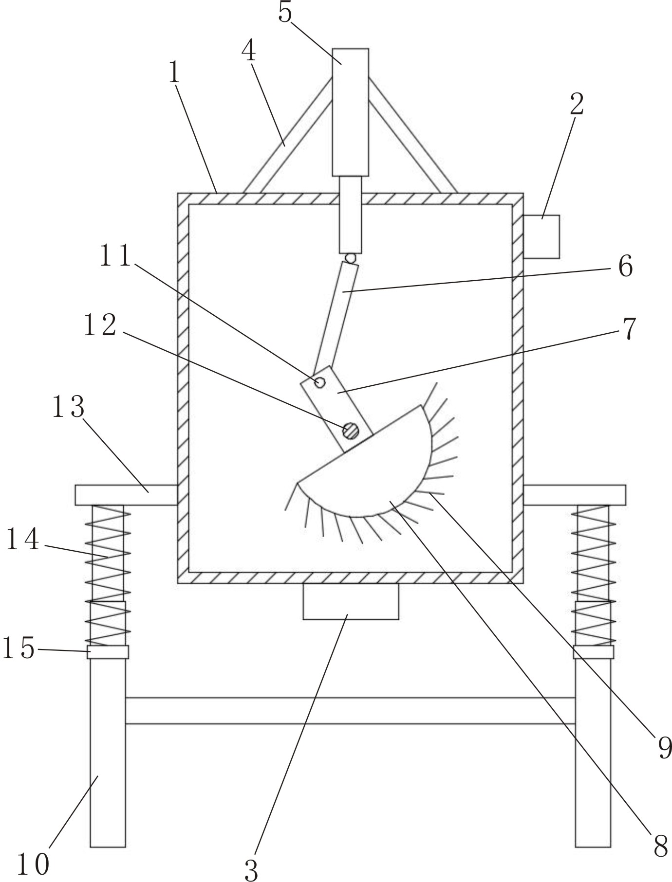
一种具备减震功能的真石漆液压搅拌装置,包括有主筒体、液压缸、连接臂、摇臂、搅拌部、翻料板和液压伸缩支腿。主筒体的顶端通过固定支架设置有液压缸。主筒体的内部设置有连接臂,连接臂转动连接有转轴,转轴的两端分别连接有摇臂,摇臂转动连接有连接轴,连接轴的一端与摇臂转动连接,其另一端与主筒体的内壁转动连接。摇臂的底端设置有搅拌部,搅拌部上设置有若干翻料板。主筒体的两侧分别设置有固定板,固定板连接有液压伸缩支腿。本实用新型所述的一种具备减震功能的真石漆液压搅拌装置,其设计合理,结构简单,搅拌效果好,大大提升了搅拌效率,以及真石漆的使用效果,而且还具备减振功能,可保证设备的长时间运行。


