授权公布号:CN214131174U
一种真石漆自清理式搅拌装置
有效
申请
2020-11-24
申请公布
1970-01-01
授权
2021-09-07
预估到期
2030-11-24
| 申请号 | CN202022731258.2 |
| 申请日 | 2020-11-24 |
| 授权公布号 | CN214131174U |
| 授权公告日 | 2021-09-07 |
| 分类号 | B01F7/16;B01F7/18;B01F7/24;B01F15/00;B08B9/087 |
| 分类 | 一般的物理或化学的方法或装置; |
| 申请人名称 | 山东赛德丽新材料股份有限公司 |
| 申请人地址 | 山东省济宁市金乡县胡集镇济宁化学工业开发区 |
专利法律状态
2021-09-07
授权
状态信息
授权
摘要
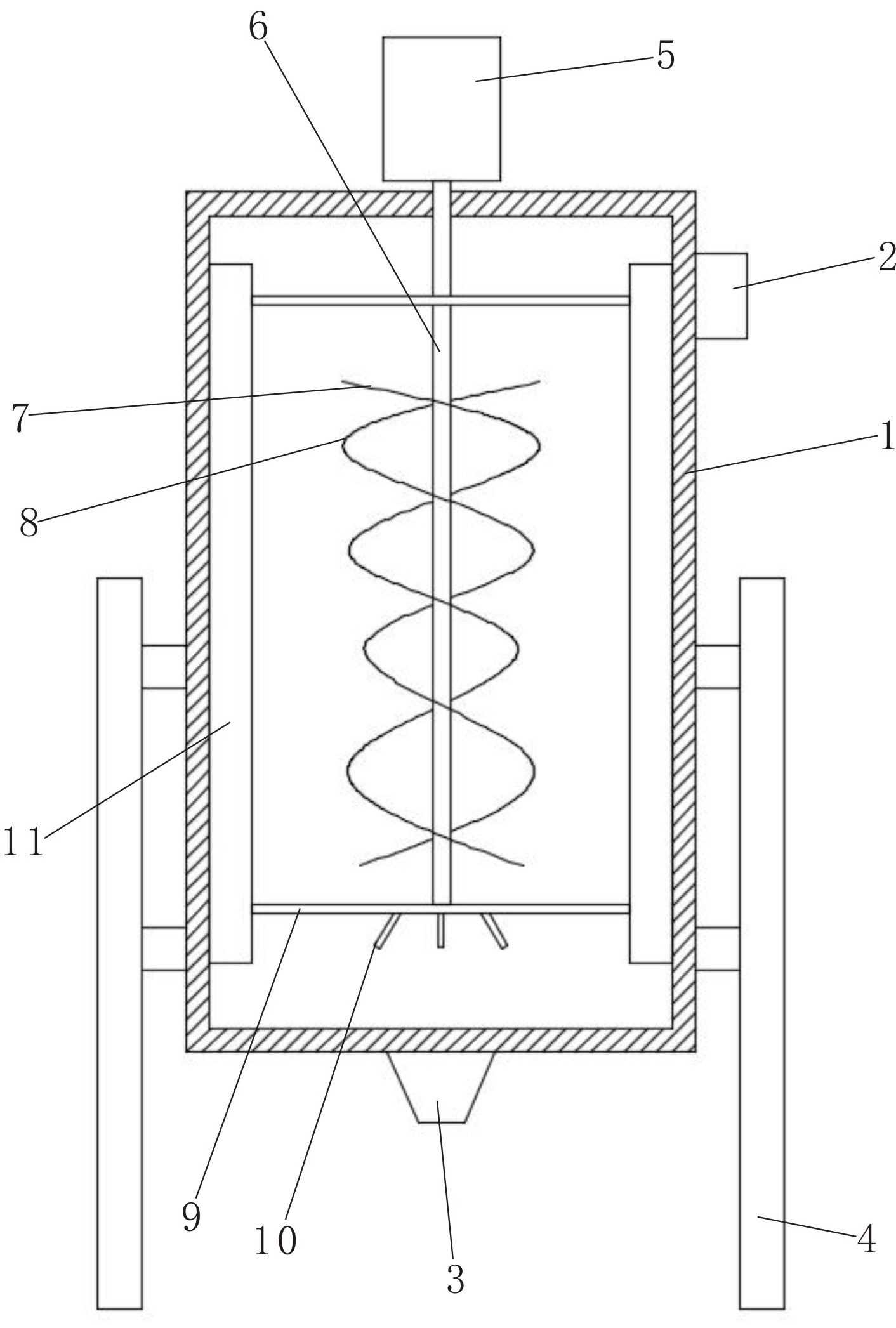
一种真石漆自清理式搅拌装置,包括有主罐体、固定架、驱动电机、搅拌轴、第一搅拌叶片、第二搅拌叶片和搅拌杆。搅拌轴上以其轴线为基准设置有第一搅拌叶片和第二搅拌叶片,第一搅拌叶片与第二搅拌的叶片对称设置于搅拌轴上,搅拌轴的上下两端,即是在两个搅拌叶片的上下方分别设置有连接支架,在所述搅拌轴下端的连接支架上设置有朝罐底方向倾斜的若干搅拌杆,搅拌轴的两侧通过连接支架设置有清理刮板,清理刮板与主罐体的内壁贴合。本实用新型所述的一种真石漆自清理式搅拌装置,其设计合理,便于使用,具备清理功能,搅拌效果较好,能有效提升真石漆的品质。


