授权公布号:CN213975789U
一种真石漆固态物料提料机
有效
申请
2020-10-30
申请公布
1970-01-01
授权
2021-08-17
预估到期
2030-10-30
| 申请号 | CN202022473633.8 |
| 申请日 | 2020-10-30 |
| 授权公布号 | CN213975789U |
| 授权公告日 | 2021-08-17 |
| 分类号 | B65G33/14;B65G33/24 |
| 分类 | 输送;包装;贮存;搬运薄的或细丝状材料; |
| 申请人名称 | 山东赛德丽新材料股份有限公司 |
| 申请人地址 | 山东省济宁市金乡县胡集镇济宁化学工业开发区 |
专利法律状态
2021-08-17
授权
状态信息
授权
摘要
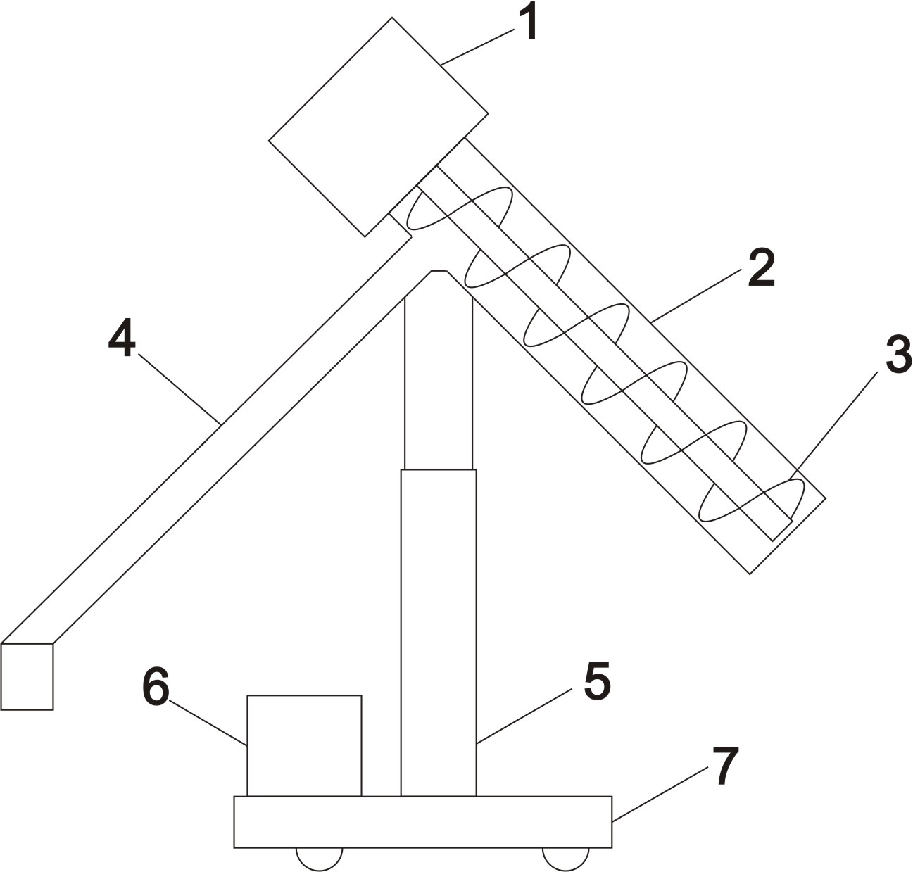
一种真石漆固态物料提料机,包括主体支撑,所述主体支撑上设有液压杆,所述液压杆上设有物料提升转运装置,所述物料提升转运装置设于液压杆的活塞端头位置;所述物料提升转运装置包括上料马达,所述上料马达输出轴通过联轴器连接上料绞龙,所述上料绞龙外部设有上料套筒;所述上料套筒上部底面设有卸料套筒,卸料套筒与上料套筒腔室联通。本实用新型结构简单,使用方便,造价低廉且易于维护,通过简单的结构解决了现有技术中人力卸料或倾倒卸料扬尘严重以及效率低下的问题。实现了高效率稳定卸料,有效的降低了卸料过程中的扬尘,对于工作人员的人身健康也起到了更为积极的作用。


