授权公布号:CN218022300U
一种松香生产用挤压机的松香含量定量装置
有效
申请
2022-06-16
申请公布
1970-01-01
授权
2022-12-13
预估到期
2032-06-16
| 申请号 | CN202221508357.7 |
| 申请日 | 2022-06-16 |
| 授权公布号 | CN218022300U |
| 授权公告日 | 2022-12-13 |
| 分类号 | B65B3/12;B65B3/26 |
| 分类 | 输送;包装;贮存;搬运薄的或细丝状材料; |
| 申请人名称 | 深圳市兴鸿泰锡业有限公司 |
| 申请人地址 | 广东省深圳市龙华区龙华街道玉翠社区和平路和平工业园9号1层~3层 |
专利法律状态
2022-12-13
授权
状态信息
授权
摘要
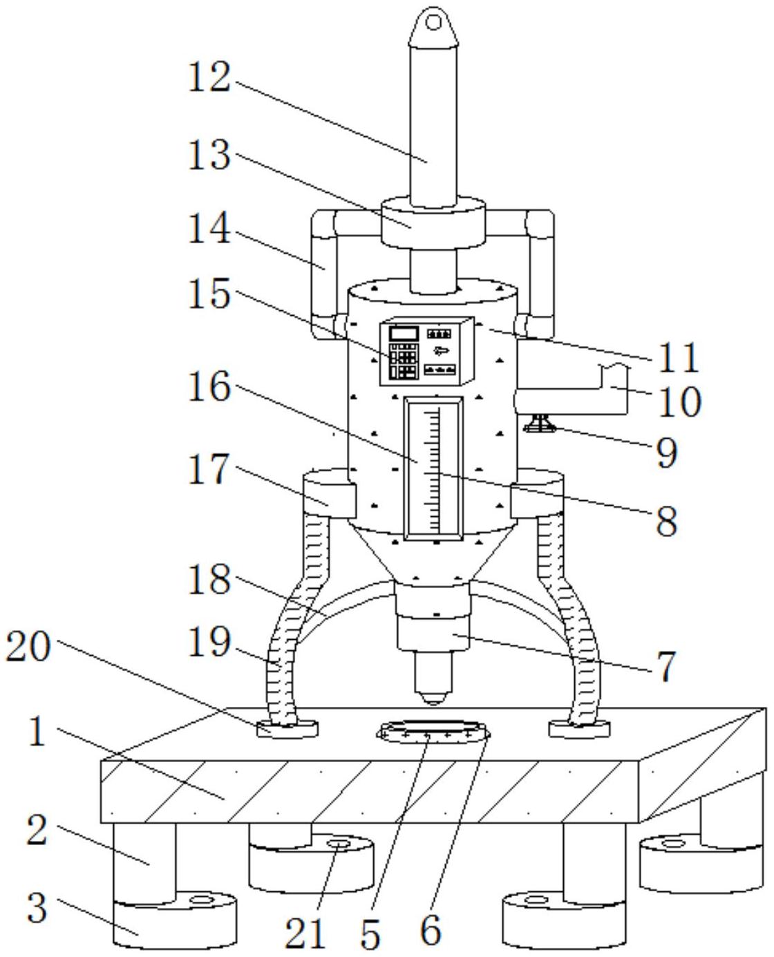
本实用新型公开了一种松香生产用挤压机的松香含量定量装置,包括支撑台,所述支撑台的上表面固定连接有两个支撑杆,每个所述支撑杆的顶端均固定连接有夹持板,两个所述夹持板相互靠近的一侧面共同固定连接有挤压筒,所述挤压筒的内部设有密封活塞。本实用新型能够利用压力传感器对注入到包装盒内部的松香料进行重力监测,当到达设定重力值时,对单片机发送电信号,并通过单片机对PLC控制器发送指令,从而控制电动推杆的定量开合,带动密封活塞和挤压锥头定量向下挤压,从而实现松香制品的精准定量挤出,有效解决现有挤压机对松香制品不能定量挤出,造成材料浪费的问题,便于松香制品的生产包装工作。


