授权公布号:CN214269073U
一种绞龙式螺旋输送机的密封装置
有效
申请
2020-12-24
申请公布
1970-01-01
授权
2021-09-24
预估到期
2030-12-24
| 申请号 | CN202023168275.6 |
| 申请日 | 2020-12-24 |
| 授权公布号 | CN214269073U |
| 授权公告日 | 2021-09-24 |
| 分类号 | B65G33/32 |
| 分类 | 输送;包装;贮存;搬运薄的或细丝状材料; |
| 申请人名称 | 四川宗盛特种水泥有限公司 |
| 申请人地址 | 四川省德阳市绵竹经济开发区新市工业园工业大道中段 |
专利法律状态
2021-09-24
授权
状态信息
授权
摘要
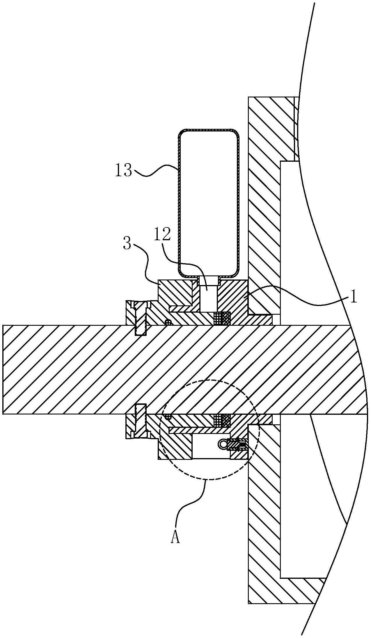
本申请涉及一种绞龙式螺旋输送机的密封装置,其包括用于套接在输送轴上的固定密封套、用于将固定密封套固定在机体上的固定机构和活动密封套,所述固定密封套的一端位于输送轴与机体之间,所述活动密封套固定于输送轴上;所述固定密封套上设置有套接于输送轴外的第一密封圈,所述活动密封套上设置有套接于输送轴外的第二密封圈,所述第一密封圈与第二密封圈相抵接。由于第一密封圈与第二密封圈相抵接,减少粉料从固定密封套与活动密封套之间渗漏出;由于活动密封套固定在输送轴上,即活动密封套与输送轴相对静止,减少粉料从活动密封套与输送轴之间渗漏出。粉料输送过程中减少粉料从输送轴与机体之间渗漏出,从而减少粉料的浪费。


