授权公布号:CN212907576U
一种推杆式电磁继电器用推杆结构
有效
申请
2020-08-10
申请公布
1970-01-01
授权
2021-04-06
预估到期
2030-08-10
| 申请号 | CN202021649311.8 |
| 申请日 | 2020-08-10 |
| 授权公布号 | CN212907576U |
| 授权公告日 | 2021-04-06 |
| 分类号 | H01H50/64 |
| 分类 | 基本电气元件; |
| 申请人名称 | 宁波福特继电器有限公司 |
| 申请人地址 | 浙江省宁波市海曙区启文路125弄11号 |
专利法律状态
2021-04-06
授权
状态信息
授权
摘要
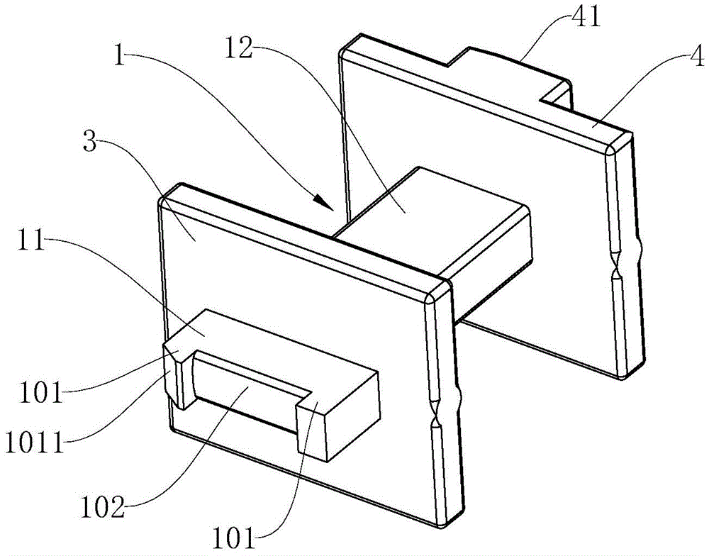
本实用新型公开了一种推杆式电磁继电器用推杆结构,包括推杆本体,推杆本体包括水平设置的推动块,特点是推动块的前端面向前凸起设置有两个定位凸块,两个定位凸块左右并列间隔设置,两个定位凸块之间形成一个用于供动簧片嵌入安装的定位凹槽,定位凹槽的宽度与适配安装的动簧片的宽度相配合。优点是通过两个定位凸块形成的定位凹槽给动簧片的安装提供了一个稳定的安装定位,确保该结构的推杆应用到继电器中实现与动簧片之间的稳定安装,从而确保使用该推杆的继电器的电性能及合格率。


