授权公布号:CN212342551U
一种推杆式电磁继电器用推杆结构
有效
申请
2020-08-18
申请公布
1970-01-01
授权
2021-01-12
预估到期
2030-08-18
| 申请号 | CN202021727890.3 |
| 申请日 | 2020-08-18 |
| 授权公布号 | CN212342551U |
| 授权公告日 | 2021-01-12 |
| 分类号 | H01H50/64 |
| 分类 | 基本电气元件; |
| 申请人名称 | 宁波福特继电器有限公司 |
| 申请人地址 | 浙江省宁波市海曙区启文路125弄11号 |
专利法律状态
2021-01-12
授权
状态信息
授权
摘要
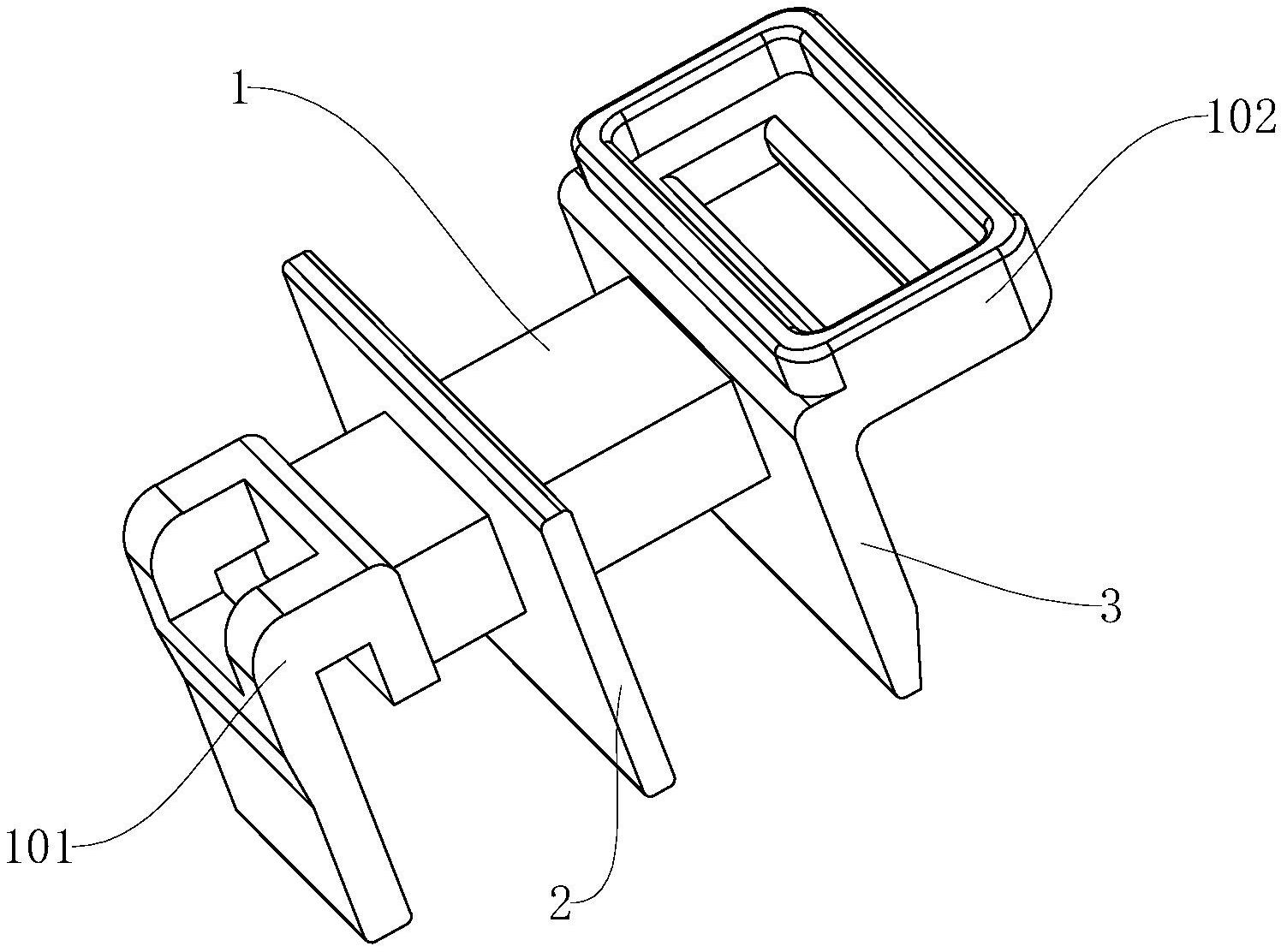
本实用新型公开了一种推杆式电磁继电器用推杆结构,包括推杆本体,推杆本体包括水平设置的推动块,推动块的前端设置有用于与继电器中的动簧组相连接的前安装部,推动块的后端设置有用于与继电器中的衔铁相连接的后安装部,前安装部与后安装部之间设置有一竖向的第一隔离片,特点是推动块上设置有竖向的第二隔离片,第二隔离片间隔设置在第一隔离片的后方,后安装部设置在第二隔离片的后方。优点是在推动块上设置有竖向的第二隔离片,第二隔离片间隔设置在第一隔离片的后方,且后安装部设置在第二隔离片的后方,通过增加设置的第二隔离片配合第一隔离片,可有效增加爬电距离。


