授权公布号:CN216196445U
一种伸缩杆件及采用该伸缩杆件的支架
有效
申请
2021-10-12
申请公布
1970-01-01
授权
2022-04-05
预估到期
2031-10-12
| 申请号 | CN202122456526.9 |
| 申请日 | 2021-10-12 |
| 授权公布号 | CN216196445U |
| 授权公告日 | 2022-04-05 |
| 分类号 | E04G1/17;E04G7/24 |
| 分类 | 建筑物; |
| 申请人名称 | 湖南五恒模架股份有限公司 |
| 申请人地址 | 湖南省长沙市浏阳高新技术产业开发区永康路19号 |
专利法律状态
2022-04-05
授权
状态信息
授权
摘要
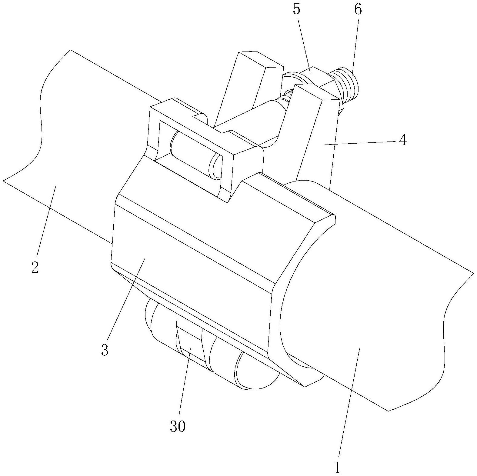
本实用新型公开了一种伸缩杆件及采用该伸缩杆件的支架,伸缩杆件包括第一杆和插设在第一杆内腔中的第二杆,第一杆上设有锁紧组件,锁紧组件包括托座和锁紧件,托座固定连接于第一杆上,锁紧件能在与托座配合夹紧固定第二杆的锁紧状态和松开第二杆的松开状态之间转换,还包括用于将锁紧件固定在锁紧状态的锁紧机构。支架包括一个以上框架单元,框架单元包括四根立杆,四根立杆通过两组纵向杆组和两组横向杆组连接构成矩形框架结构,纵向杆组包括多根纵向横杆,横向杆组包括多根横向横杆,所有纵向横杆和/或所有横向横杆为伸缩杆件。本实用新型具有结构简单、易于制作、成本低、操作简便、调节效率高、使用灵活性高、适用范围广等优点。


