授权公布号:CN215893284U
一种用于钢化炉的高温废气热能利用装置
有效
申请
2021-09-06
申请公布
1970-01-01
授权
2022-02-22
预估到期
2031-09-06
| 申请号 | CN202122131268.7 |
| 申请日 | 2021-09-06 |
| 授权公布号 | CN215893284U |
| 授权公告日 | 2022-02-22 |
| 分类号 | F27D17/00;C03B27/012 |
| 分类 | 炉;窑;烘烤炉;蒸馏炉〔4〕; |
| 申请人名称 | 杭州精工机械有限公司 |
| 申请人地址 | 浙江省杭州市余杭区仁和街道奉运路1号 |
专利法律状态
2022-02-22
授权
状态信息
授权
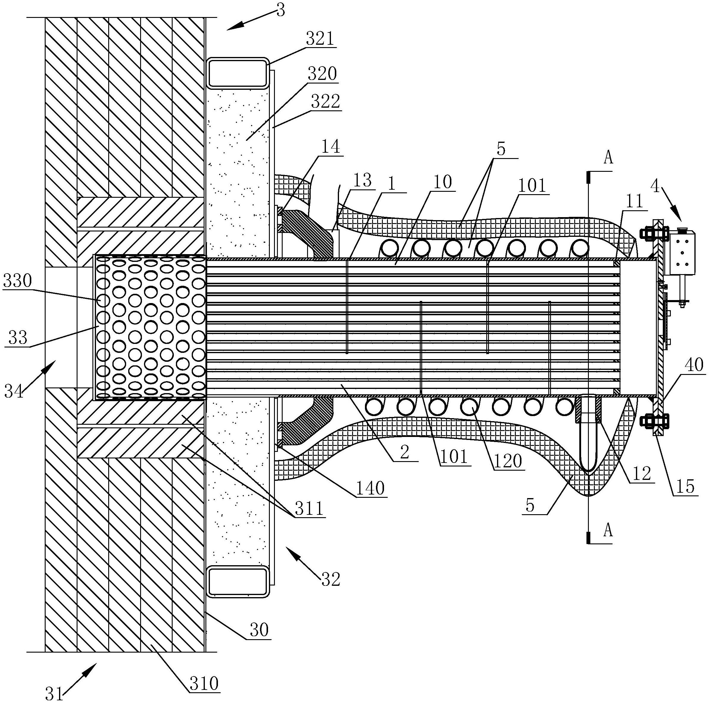
摘要
本实用新型公开了一种用于钢化炉的高温废气热能利用装置,可将炉体内多余的热气由排气口排出,减少设备损耗,且能够对排出气体进行热交换,减少排出气体的温度,同时对热能进行再利用,降低能耗。其技术方案要点是:包括换热壳、多个传热管、钢化炉和压缩空气发生器,换热壳的内部设有换热腔,换热腔的两端分别设有两个管板,多个传热管的两端分别贯穿两个管板,换热壳设有进气管和至少一个出气管,钢化炉包括排气口、外壳、保温壁、换热底座和强制对流系统,排气口完全贯穿外壳、保温壁和换热底座,保温壁设于外壳的内侧,换热底座设于外壳的外侧,换热底座内部设有保温棉,换热壳与排气口密封连接,换热壳的另一端设有启闭结构。


