授权公布号:CN215325370U
一种玻璃运输用旋转台
有效
申请
2021-08-04
申请公布
1970-01-01
授权
2021-12-28
预估到期
2031-08-04
| 申请号 | CN202121802484.3 |
| 申请日 | 2021-08-04 |
| 授权公布号 | CN215325370U |
| 授权公告日 | 2021-12-28 |
| 分类号 | B65G47/24;B65G39/18;B65G49/06 |
| 分类 | 输送;包装;贮存;搬运薄的或细丝状材料; |
| 申请人名称 | 杭州精工机械有限公司 |
| 申请人地址 | 浙江省杭州市余杭区仁和街道奉运路1号 |
专利法律状态
2021-12-28
授权
状态信息
授权
摘要
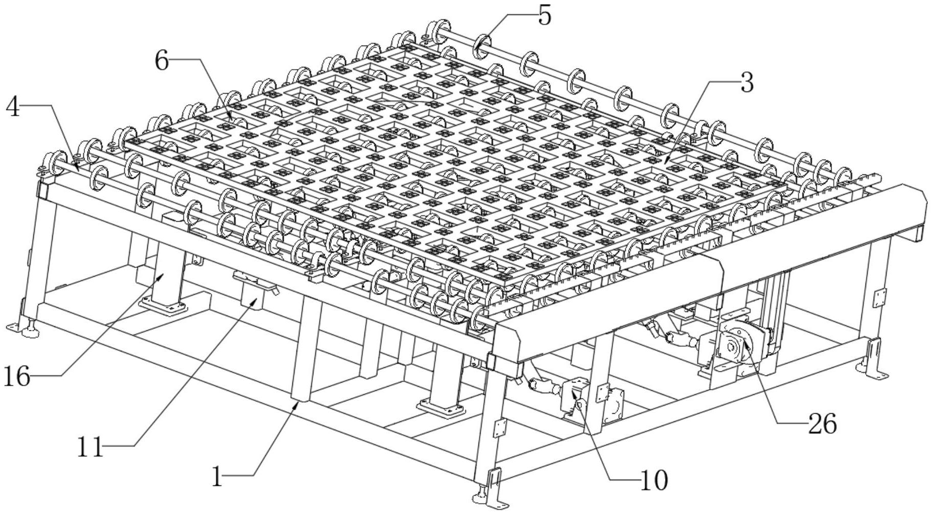
本实用新型公开了一种玻璃运输用旋转台,属于玻璃加工技术领域,包括支撑架、移动架和放置板,支撑架上转动设置有多个位于同一水平面上的第一转轴,第一转轴上套接安装有多个第一滚轮,移动架通过升降机构与支撑架滑动连接;通过设置放置板,利用放置板与旋转机构之间的连接,使得旋转机构能够带动放置板转动,用来转动放置板上的玻璃,利用放置板上开设的多个安装槽,再利用安装槽内设置的压缩弹簧,同时利用压缩弹簧上设置的限位块,当玻璃位于一部分限位块上时,该一部分限位块受力收缩至安装槽内,使玻璃能够卡在另一部分限位块之间,能够对玻璃进行限位固定,防止其滑落,保证了玻璃的安全,提高了玻璃的传输效率。


