授权公布号:CN217900937U
一种旋翼式水表的密封结构
有效
申请
2022-06-17
申请公布
1970-01-01
授权
2022-11-25
预估到期
2032-06-17
| 申请号 | CN202221516202.8 |
| 申请日 | 2022-06-17 |
| 授权公布号 | CN217900937U |
| 授权公告日 | 2022-11-25 |
| 分类号 | G01F15/14;F16J15/06 |
| 分类 | 测量;测试; |
| 申请人名称 | 重庆智慧水务有限公司 |
| 申请人地址 | 重庆市九龙坡区华龙大道2号 |
专利法律状态
2022-11-25
授权
状态信息
授权
摘要
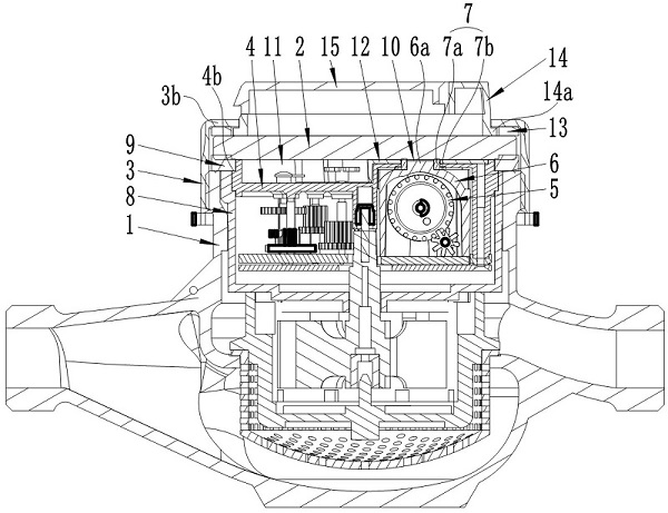
本实用新型公开了一种旋翼式水表的密封结构,包括表壳、表玻璃、表罩和表芯,字轮窗密封圈、表玻璃和显示透镜合围形成第一封闭空间,表芯密封圈、上壳体、表玻璃和字轮窗密封圈合围形成第二封闭空间。采用本实用新型提供的一种旋翼式水表的密封结构,通过设置字轮窗密封圈和表芯密封圈,不仅能够有效密封上壳体与字轮窗之间的缝隙以及表玻璃与上壳体上缘之间的缝隙,而且能够形成第一封闭空间和第二封闭空间,避免脏污进入而导致表玻璃和显示透镜出现模糊,从而不会影响人工读数。


