授权公布号:CN219034218U
旋转台车及立体车库
有效
申请
2022-12-14
申请公布
1970-01-01
授权
2023-05-16
预估到期
2032-12-14
| 申请号 | CN202223363554.7 |
| 申请日 | 2022-12-14 |
| 授权公布号 | CN219034218U |
| 授权公告日 | 2023-05-16 |
| 分类号 | E04H6/40;E04H6/36;E04H6/42 |
| 分类 | 建筑物; |
| 申请人名称 | 杭州西子智能停车股份有限公司 |
| 申请人地址 | 浙江省杭州市余杭区余杭经济技术开发区宏达路181号 |
专利法律状态
2023-05-16
授权
状态信息
授权
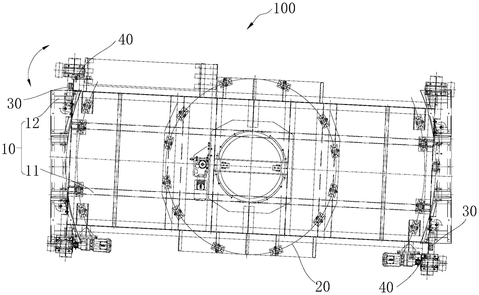
摘要
本实用新型请求保护的旋转台车及立体车库,旋转台车包括移动底架及回转模组,移动底架上形成有第一安装部及设置于第一安装部外围的第二安装部,其中,回转模组转动地安装于第一安装部上;第二安装部与回转模组之间设置有检测传感器和信号触发件,回转模组转动使检测传感器与信号触发件配合产生反馈信号,检测回转模组相对第一安装部的转动。本实用新型充分利用了移动底架相对于回转模组的空余空间,可使检测传感器和信号触发件的安装不用额外占用空间,以便于在旋转台车中装配,而且检测传感器与信号触发件之间的配合不受回转模组与移动底架之间装配精度的影响,这样能够确保该旋转台车的正常工作。


