授权公布号:CN219061091U
伸缩齿梳齿搬运器
有效
申请
2022-12-26
申请公布
1970-01-01
授权
2023-05-23
预估到期
2032-12-26
| 申请号 | CN202223569351.3 |
| 申请日 | 2022-12-26 |
| 授权公布号 | CN219061091U |
| 授权公告日 | 2023-05-23 |
| 分类号 | E04H6/18 |
| 分类 | 建筑物; |
| 申请人名称 | 大洋泊车股份有限公司 |
| 申请人地址 | 山东省潍坊市滨海区央子街道创新大厦 |
专利法律状态
2023-05-23
授权
状态信息
授权
摘要
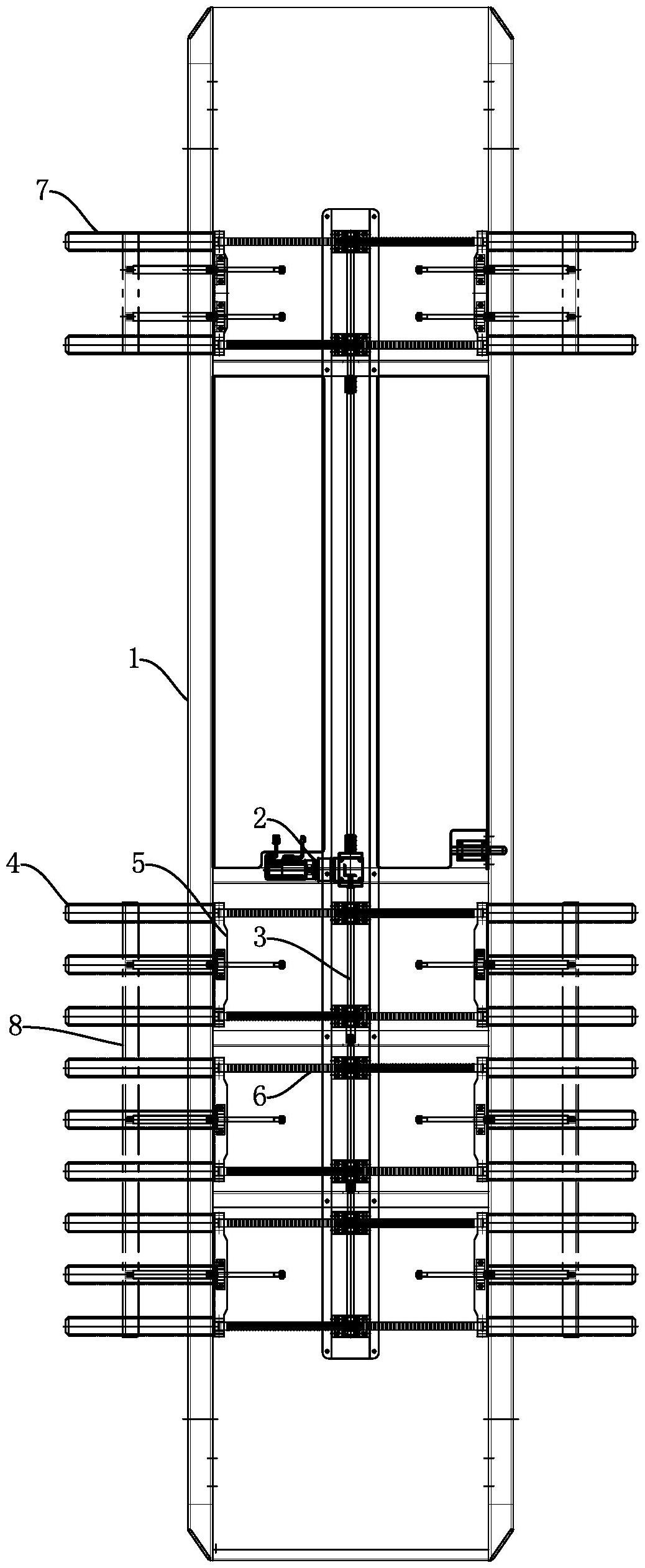
本实用新型公开了一种伸缩齿梳齿搬运器,属于立体车库技术领域,包括安装于升降框架上的前轮伸缩齿组件,所述前轮伸缩齿组件包括若干组伸缩齿模块,每组伸缩齿模块均水平滑动安装于所述升降框架上,所述升降框架上转动安装有动力机构驱动的传动轴,每组伸缩齿模块均通过齿轮齿条传动副连接所述传动轴。本实用新型解决了车辆轮距不同导致齿轮齿条传动副受力不均匀的技术问题,广泛应用于梳齿车库中。


