授权公布号:CN220419266U
具有绕线柱的探测器安装板以及探测器组件
有效
申请
2023-04-26
申请公布
1970-01-01
授权
2024-01-30
预估到期
2033-04-26
| 申请号 | CN202320979357.3 |
| 申请日 | 2023-04-26 |
| 授权公布号 | CN220419266U |
| 授权公告日 | 2024-01-30 |
| 分类号 | G01N33/00 |
| 分类 | 测量;测试; |
| 申请人名称 | 西安盛赛尔电子有限公司 |
| 申请人地址 | 陕西省西安市团结南路28号 |
专利法律状态
2024-01-30
授权
状态信息
授权
摘要
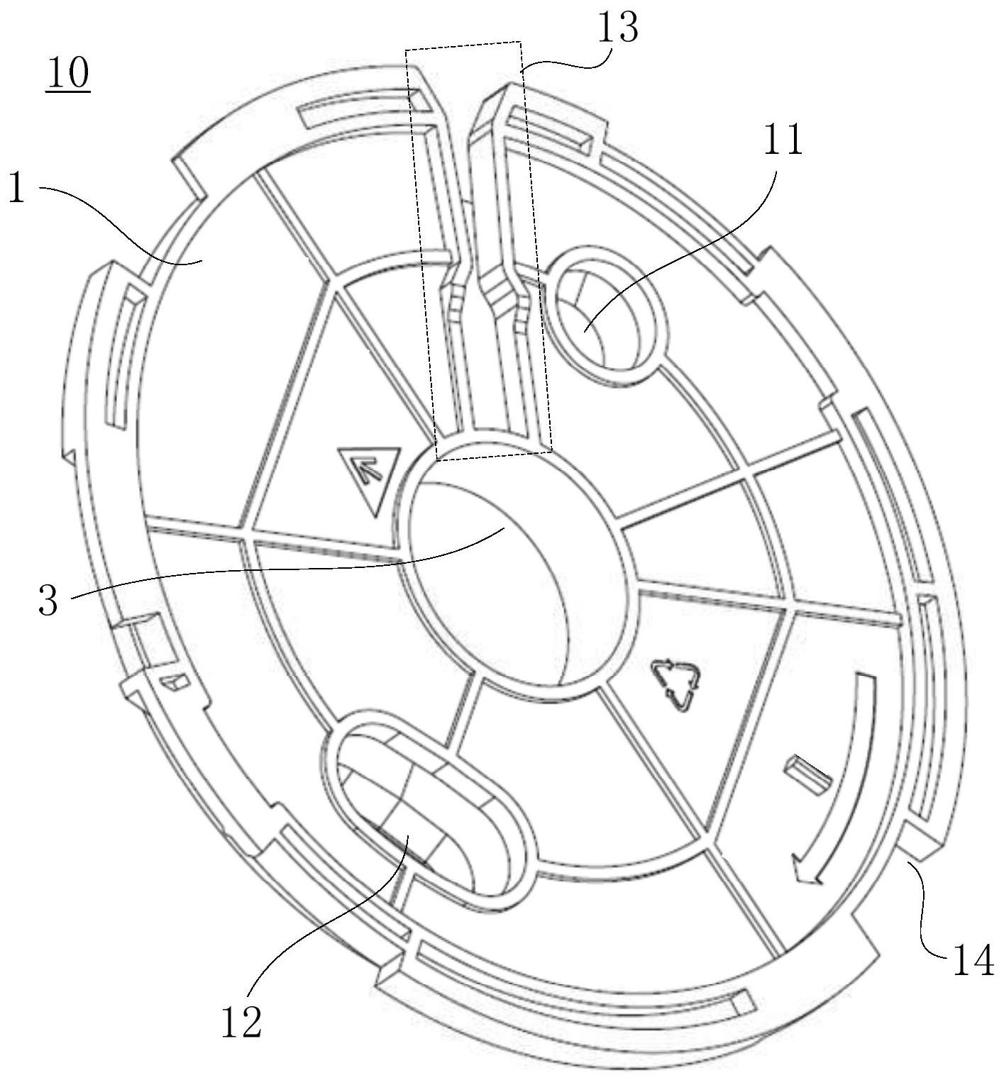
本实用新型提供了具有绕线柱的探测器安装板以及探测器组件,其中,探测器安装板包括了:一第一板件,具有至少一通孔和至少一用于限位线缆的理线槽;一绕线柱,绕线柱的第一端连接第一板件;一第二板件,第二板件连接绕线柱的第二端,第二板件与第一板件平行,绕线柱的外周面配合第一板件和第二板件的相对的两侧面共同形成环绕绕线柱的绕线槽,第二板件具有至少一与通孔相对应的通孔,以形成依次通过第一板件的通孔、绕线槽的空间后达到第二板件的通孔的螺钉安装通道。本实用新型能够收纳多余线缆,可根据安装需要灵活调整线缆长度,避免了线缆垂落,提高了美观性,避免了使用时的安全隐患。


