授权公布号:CN215731416U
一种具有常闭触点的火灾报警按钮装置
有效
申请
2021-07-06
申请公布
1970-01-01
授权
2022-02-01
预估到期
2031-07-06
| 申请号 | CN202121523596.5 |
| 申请日 | 2021-07-06 |
| 授权公布号 | CN215731416U |
| 授权公告日 | 2022-02-01 |
| 分类号 | H01H13/10;H01H13/12;H01H13/02;H01H13/14;G08B25/12 |
| 分类 | 基本电气元件; |
| 申请人名称 | 西安盛赛尔电子有限公司 |
| 申请人地址 | 陕西省西安市团结南路28号 |
专利法律状态
2022-02-01
授权
状态信息
授权
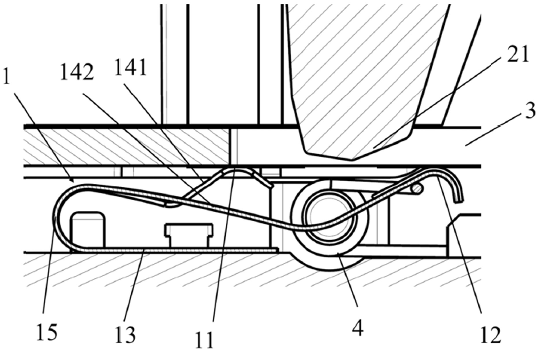
摘要
本实用新型涉及一种具有常闭触点的火灾报警按钮装置,包括弹片,弹片,固定安装在按钮壳体内,所述弹片的顶部设置有第一触点和第二触点;两个所述触点与位于其上方的PCB板接触形成电路通路;操作面板,位于所述PCB板上方,其第一端与按钮壳体铰接固定,使该操作面板能够上下转动,该操作面板位于弹片的第二触点上方的位置设置有向下延伸的顶杆杆;正常状态下,第一触点和第二触点均与PCB板连接构成第一电连接状态;报警状态下,按压操作面板使顶杆向下按压第二触点与所述PCB板分离,改变第一电连接状态为第二电连接状态,触发火灾警报,该常闭触点的火灾报警按钮装置触发火灾警报可靠性高且结构简单。


