授权公布号:CN211136633U
游标卡尺前尾端面上双头高速磨削设备
有效
申请
2019-12-03
申请公布
1970-01-01
授权
2020-07-31
预估到期
2029-12-03
| 申请号 | CN201922137126.4 |
| 申请日 | 2019-12-03 |
| 授权公布号 | CN211136633U |
| 授权公告日 | 2020-07-31 |
| 分类号 | B24B19/00 |
| 分类 | 磨削;抛光; |
| 申请人名称 | 靖江量具有限公司 |
| 申请人地址 | 江苏省泰州市靖江市季市镇新马路85号 |
专利法律状态
2020-07-31
授权
状态信息
授权
摘要
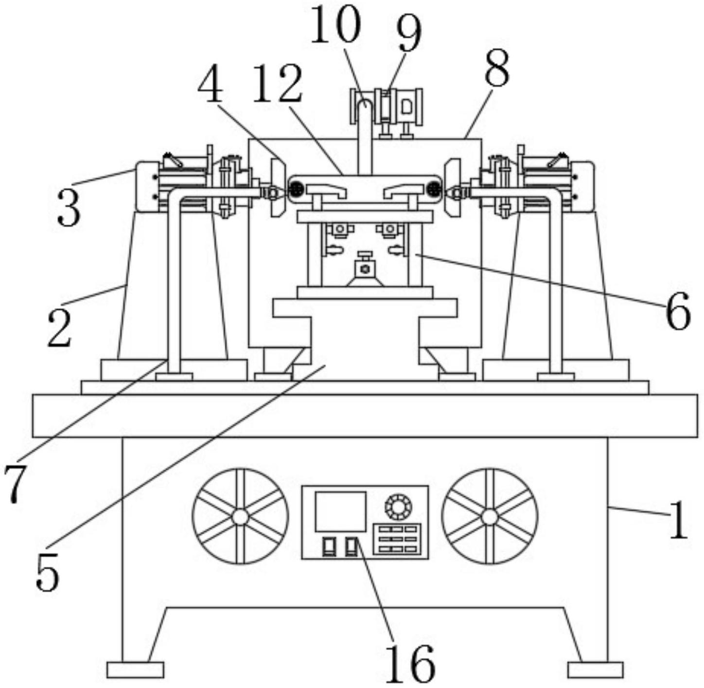
本实用新型公开了游标卡尺前尾端面上双头高速磨削设备,包括床身和打磨立柱,所述床身顶端的左右两侧皆焊接有打磨立柱,所述床身顶端左右两侧的前端皆安装有检测探头,所述冷却液箱的顶端安装有水泵,所述进液管的底端穿过冷却液箱延伸至冷却液箱内部的底端,所述冷却液箱的顶端开设有进液口,所述床身顶端左右两侧的末端皆开设有储液槽,所述床身的正面安装有控制面板。本实用新型避免两次翻转造成位置偏移,从而导致打磨的精度发生偏差,更加增加了打磨的精度,通过冷却液对游标卡尺进行降温,避免在对游标卡尺打磨的过程中游标卡尺发生热胀冷缩,从而影响游标卡尺的精准度,提高了在打磨后游标卡尺的光滑度。


