授权公布号:CN209954442U
一种卡尺尺框磨量爪斜面翻转机构
有效
申请
2019-03-21
申请公布
1970-01-01
授权
2020-01-17
预估到期
2029-03-21
| 申请号 | CN201920365038.7 |
| 申请日 | 2019-03-21 |
| 授权公布号 | CN209954442U |
| 授权公告日 | 2020-01-17 |
| 分类号 | B24B41/00;B24B41/06 |
| 分类 | 磨削;抛光; |
| 申请人名称 | 靖江量具有限公司 |
| 申请人地址 | 江苏省泰州市季市镇新马路85号 |
专利法律状态
2020-01-17
授权
状态信息
授权
摘要
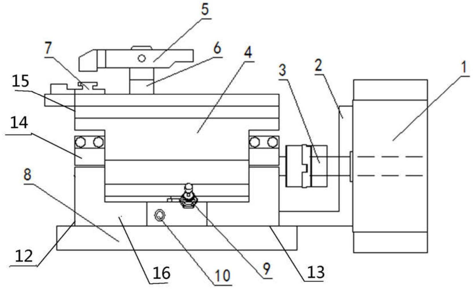
本实用新型涉及卡尺制作领域,尤其是一种卡尺尺框磨量爪斜面翻转机构,包括本翻转机构的翻转装置、水平横向设置在翻转装置一侧的旋转气缸以及两边分别用于连接翻转装置和旋转气缸的联轴器,旋转气缸的输出轴通过联轴器与驱动翻转装置相转动连接,翻转装置包括用于装配在固定工位上的底座、固接在底座上且与旋转气缸横向水平对接的翻转限位机构、转动连接在翻转限位机构上方且与旋转气缸输出轴平行套接的铰链轴以及转动连接在铰链轴上方的工件旋转工作台,本实用新型的创造,在卡尺制作中,能够减少生产中大量的人工干预,提高生产效率、精进产品质量,并且大大解放了双手,节约了生产成本,还能够规避掉人工生产中的意外发生。


