授权公布号:CN214747571U
一种测量间隙专用卡尺
有效
申请
2021-02-07
申请公布
1970-01-01
授权
2021-11-16
预估到期
2031-02-07
| 申请号 | CN202120357945.4 |
| 申请日 | 2021-02-07 |
| 授权公布号 | CN214747571U |
| 授权公告日 | 2021-11-16 |
| 分类号 | G01B3/18 |
| 分类 | 测量;测试; |
| 申请人名称 | 靖江量具有限公司 |
| 申请人地址 | 江苏省泰州市靖江市季市镇新马路85号 |
专利法律状态
2021-11-16
授权
状态信息
授权
摘要
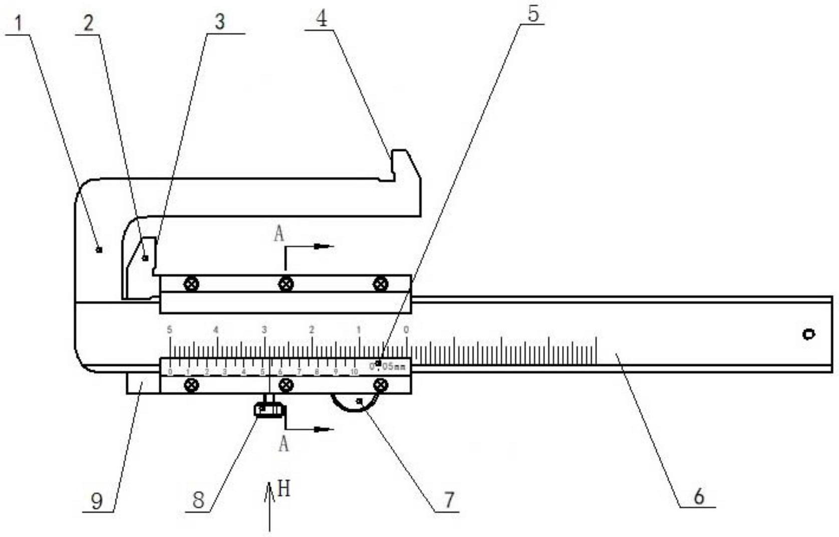
本实用新型公开了一种测量间隙专用卡尺,包括主尺、尺框、游标和测量爪,尺框滑动连接于主尺上,通过拉手左右滑动并通过紧固螺钉固定在主尺上,游标连接在尺框上,并通过游标螺钉紧定,尺框端部设置尺框测量爪,尺框测量爪的端面设为尺框测量面,主尺的端部设置异形的主尺测量爪,使得主尺测量爪与尺框测量爪之间存在高度差,主尺测量面设置在主尺测量爪的端面。该卡尺能测量不在同一平面零件间隙的尺寸,具有操作方便、测量数据准确的优点。


