授权公布号:CN212978038U
一种电子表加工用夹具
有效
申请
2020-07-15
申请公布
1970-01-01
授权
2021-04-16
预估到期
2030-07-15
| 申请号 | CN202021389234.7 |
| 申请日 | 2020-07-15 |
| 授权公布号 | CN212978038U |
| 授权公告日 | 2021-04-16 |
| 分类号 | B25B11/00 |
| 分类 | 手动工具;轻便机动工具;手动器械的手柄;车间设备;机械手; |
| 申请人名称 | 青海量具刃具有限责任公司 |
| 申请人地址 | 青海省西宁市经济技术开发区民和路37号 |
专利法律状态
2021-04-16
授权
状态信息
授权
摘要
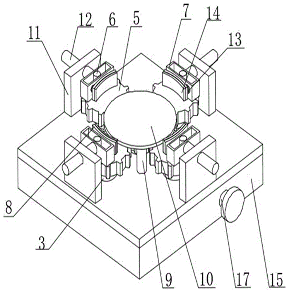
本实用新型提供一种电子表加工用夹具,涉及电子表技术领域,包括加工台,所述加工台的顶部转动连接有第一转杆和第二转杆,第一转杆和第二转杆的顶部分别固定连接有连接齿轮和驱动齿轮,连接齿轮与驱动齿轮相啮合,驱动齿轮的顶部固定连接有固定块,驱动齿轮的顶部放置有矩形框。该电子表加工用夹具,通过电子表机芯放置在放置板的顶部,通过转动第一转杆带动连接齿轮进行旋转,通过连接齿轮与四个驱动齿轮的啮合作用下,驱动四个驱动齿轮一起转动,使四个矩形框一侧面的弧形夹持板向放置板的中心靠近,通过四个弧形夹持板来对放置在放置板顶部的机芯进行夹持固定,该装置具有夹持方便和夹持稳定的优点,提高了对机芯的加工效率。


