授权公布号:CN216694862U
一种螺杆端面垂直度检测设备
有效
申请
2021-12-22
申请公布
1970-01-01
授权
2022-06-07
预估到期
2031-12-22
| 申请号 | CN202123243728.1 |
| 申请日 | 2021-12-22 |
| 授权公布号 | CN216694862U |
| 授权公告日 | 2022-06-07 |
| 分类号 | G01B11/26 |
| 分类 | 测量;测试; |
| 申请人名称 | 施泰力工具(苏州)有限公司 |
| 申请人地址 | 江苏省苏州市工业园区展业路9号唯亭工业坊北区4号楼102室 |
专利法律状态
2022-06-07
授权
状态信息
授权
摘要
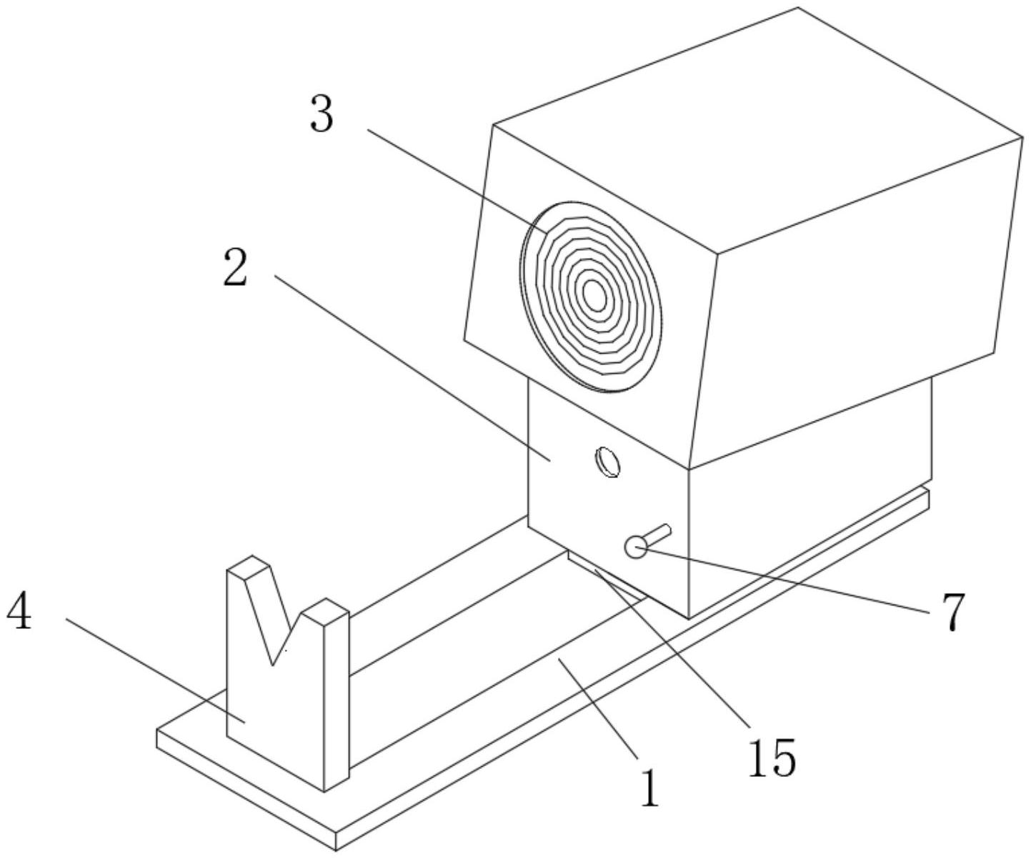
本实用新型公开了一种螺杆端面垂直度检测设备,涉及到机械加工检具的技术领域,包括基座,所述基座的顶部滑动安装有光学投影仪,所述基座的顶部安装有安装柱,所述安装柱的顶部安装有螺杆夹持件,所述光学投影仪靠近所述安装柱的侧部上安装有LED光源,所述光学投影仪的屏幕上设置有比对图,所述比对图包括多个圆形刻度线,多个圆形刻度线同心设置。将待测螺杆放入螺杆夹持件夹持,开启LED光源,此时螺杆的端面图像,会通过成像孔,最终显示在光学投影仪的屏幕上,接着转动待测螺杆,观察螺杆端面的投影在屏幕上的移动情况,根据设置好的合格范围值,可以直观地通过查看螺杆转动整圈时投影圆是否在合格线内来判定工件是否合格。


