授权公布号:CN213396817U
公法线千分尺
有效
申请
2020-08-25
申请公布
1970-01-01
授权
2021-06-08
预估到期
2030-08-25
| 申请号 | CN202021794551.7 |
| 申请日 | 2020-08-25 |
| 授权公布号 | CN213396817U |
| 授权公告日 | 2021-06-08 |
| 分类号 | G01B3/18;G01B5/02;G01B5/06 |
| 分类 | 测量;测试; |
| 申请人名称 | 施泰力工具(苏州)有限公司 |
| 申请人地址 | 江苏省苏州市工业园区苏虹中路339号 |
专利法律状态
2021-06-08
授权
状态信息
授权
摘要
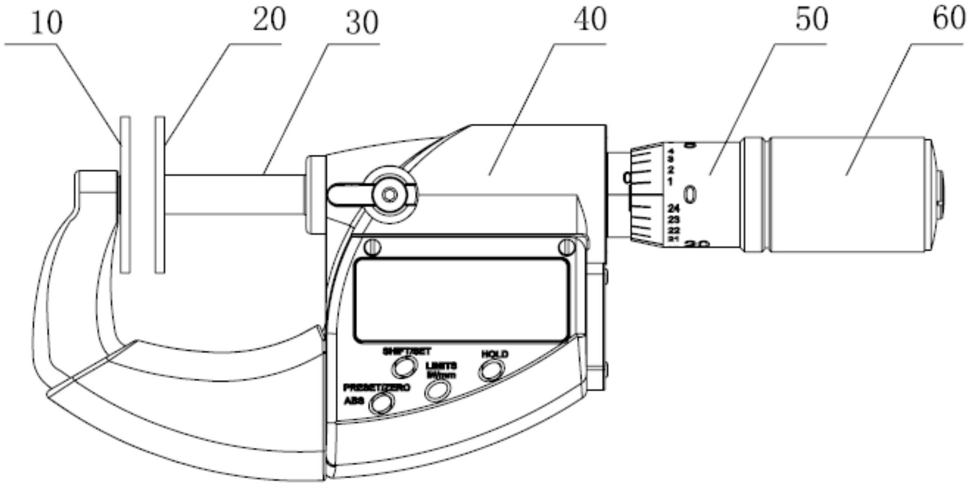
本说明书提供了一种公法线千分尺,包括尺架和设置在尺架上的测砧,测砧具有一个正面和背面,其中,正面设有测量内齿公法线的测量面,背面设有测量外齿公法线的测量面。通过在测砧上增大测量面来避免工件与尺架间的干涉,使得能千分尺能测量齿轮齿间槽宽和齿厚公法线的功能性。


