授权公布号:CN213700557U
一种AB胶水点胶装置
有效
申请
2020-09-15
申请公布
1970-01-01
授权
2021-07-16
预估到期
2030-09-15
| 申请号 | CN202022015449.9 |
| 申请日 | 2020-09-15 |
| 授权公布号 | CN213700557U |
| 授权公告日 | 2021-07-16 |
| 分类号 | B05C5/02;B01F7/16 |
| 分类 | 一般喷射或雾化;对表面涂覆液体或其他流体的一般方法〔2〕; |
| 申请人名称 | 东莞市新懿电子材料技术有限公司 |
| 申请人地址 | 广东省东莞市大岭山镇鸡翅岭村香山路华威科谷工业园第二栋3楼 |
专利法律状态
2021-07-16
授权
状态信息
授权
摘要
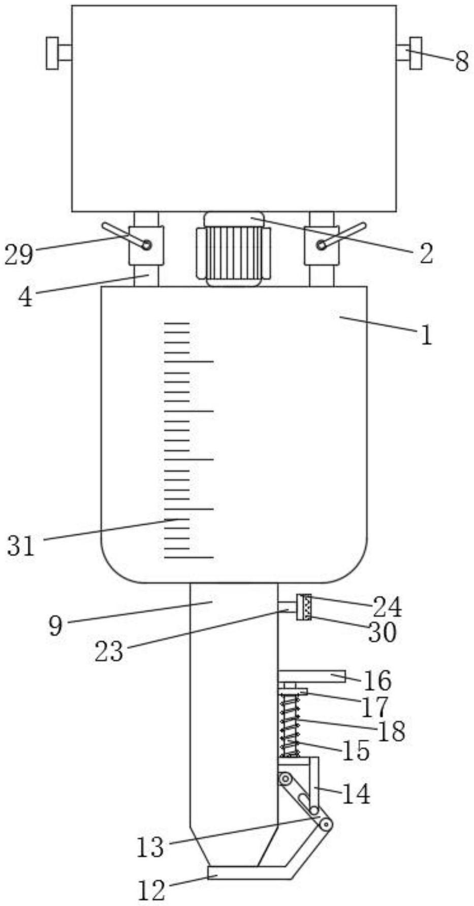
本实用新型涉及胶水技术领域,且公开了一种AB胶水点胶装置,包括搅拌桶,所述搅拌桶的顶部栓接有电机;本实用新型通过搅拌桶、电机、搅拌杆、密封块、挡板、摆动杆、L型杆、升降杆、拨杆、固定块、复位弹簧、凹槽、移动杆、弹簧阻尼器、卡块、推杆和按块的设置,解决了传统点胶装置,在使用后缺乏对出胶口便于封口,在进行点胶作业,出胶口与空气的接触很容易使管道内的胶水硬化,导致装置的损坏,影响工作效率,同时在A胶与B胶混合时,常常通过摇晃进行混合,易使混合不充分,影响胶水硬度的问题,具备便于封口和胶水混合均匀的优点,该装置还可将挡板对胶水进行涂抹,十分便捷。


