授权公布号:CN216434123U
一种测量混凝土长期收缩率的装置
有效
申请
2021-11-01
申请公布
1970-01-01
授权
2022-05-03
预估到期
2031-11-01
| 申请号 | CN202122652710.0 |
| 申请日 | 2021-11-01 |
| 授权公布号 | CN216434123U |
| 授权公告日 | 2022-05-03 |
| 分类号 | G01N33/38;G01B5/30 |
| 分类 | 测量;测试; |
| 申请人名称 | 四川华西绿舍建材有限公司 |
| 申请人地址 | 四川省德阳市广汉市小汉镇团结村13组 |
专利法律状态
2023-11-07
专利申请权、专利权的转移
状态信息
专利权的转移;IPC(主分类):G01N 33/38;专利号:ZL2021226527100;登记生效日:20231020;变更事项:专利权人;变更前权利人:四川华西绿舍建材有限公司;变更后权利人:四川华西绿舍建筑科技有限公司;变更事项:地址;变更前权利人:610051 四川省成都市成华区成华大道二段298号;变更后权利人:618300 四川省德阳市广汉市小汉镇团结村13组
2022-05-03
授权
状态信息
授权
摘要
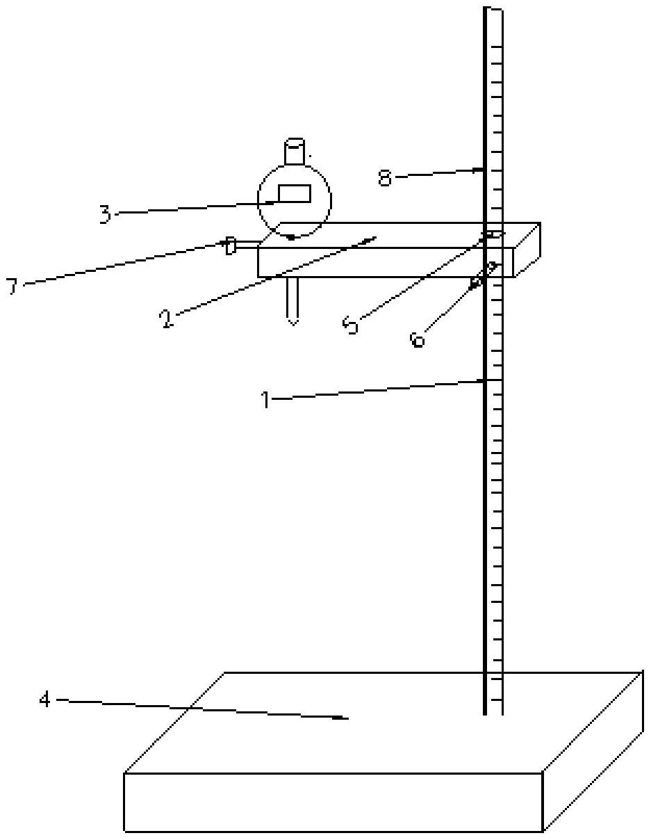
本实用新型提供了一种测量混凝土长期收缩率的装置,包括底座,所述底座顶部固定连接有竖向杆件,所述竖向杆件表面设有竖向标尺,所述竖向杆件游离端滑动连接有横向杆件,所述横向杆件远离所述竖向杆件的一端连接有千分表,所述千分表设有太阳能光伏板,通过太阳能电源供电。使用本实用新型的测量仪,每次测试混凝土收缩率,既不用移动混凝土试块位置,也不用采用标准杆校准千分表位置,直接在竖向标尺确定千分表的初始位置,测定记录混凝土的长期收缩率,确保了测试结果的准确性和精确性,有效降低了影响试验结果的误差因素;同时千分表为太阳能电源供电,方便长期使用、节能环保。


