授权公布号:CN215400694U
一种混凝土储存罐
有效
申请
2021-07-07
申请公布
1970-01-01
授权
2022-01-04
预估到期
2031-07-07
| 申请号 | CN202121539956.0 |
| 申请日 | 2021-07-07 |
| 授权公布号 | CN215400694U |
| 授权公告日 | 2022-01-04 |
| 分类号 | B65D88/74;B65D90/00;B65D88/54 |
| 分类 | 输送;包装;贮存;搬运薄的或细丝状材料; |
| 申请人名称 | 四川华西绿舍建材有限公司 |
| 申请人地址 | 四川省成都市成华区成华大道二段298号 |
专利法律状态
2022-01-04
授权
状态信息
授权
摘要
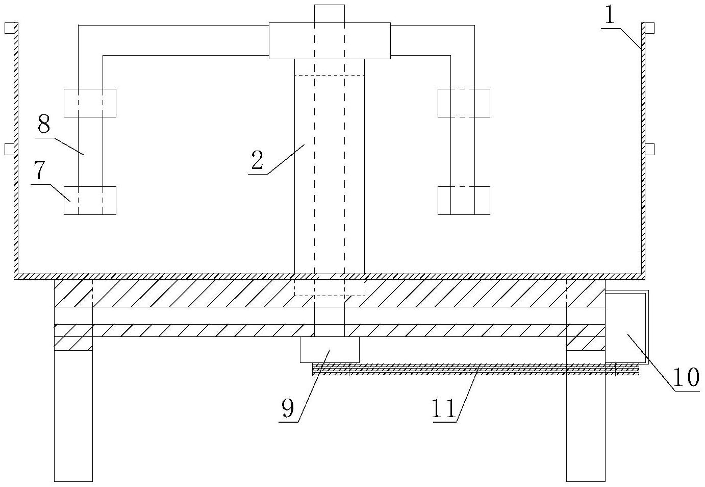
本实用新型涉及混凝土设备技术领域,具体涉及一种混凝土储存罐,包括罐体,所述罐体内设置搅拌轴,所述搅拌轴上设置搅拌桨,数个所述搅拌桨围绕搅拌轴对称布置,数个所述搅拌桨的长度互不相等。目的在于该混凝土储存罐可以将混凝土直接储存在罐体内,并通过罐体内的搅拌桨不断搅拌,储存取用便利,保证混凝土在长时间储存、使用过程中质量的稳定。


