授权公布号:CN210512984U
一种混凝土表面特征检测装置
有效
申请
2019-08-19
申请公布
1970-01-01
授权
2020-05-12
预估到期
2029-08-19
| 申请号 | CN201921341651.1 |
| 申请日 | 2019-08-19 |
| 授权公布号 | CN210512984U |
| 授权公告日 | 2020-05-12 |
| 分类号 | G01B5/28 |
| 分类 | 测量;测试; |
| 申请人名称 | 四川华西绿舍建材有限公司 |
| 申请人地址 | 四川省成都市成华区成华大道二段298号 |
专利法律状态
2020-05-12
授权
状态信息
授权
摘要
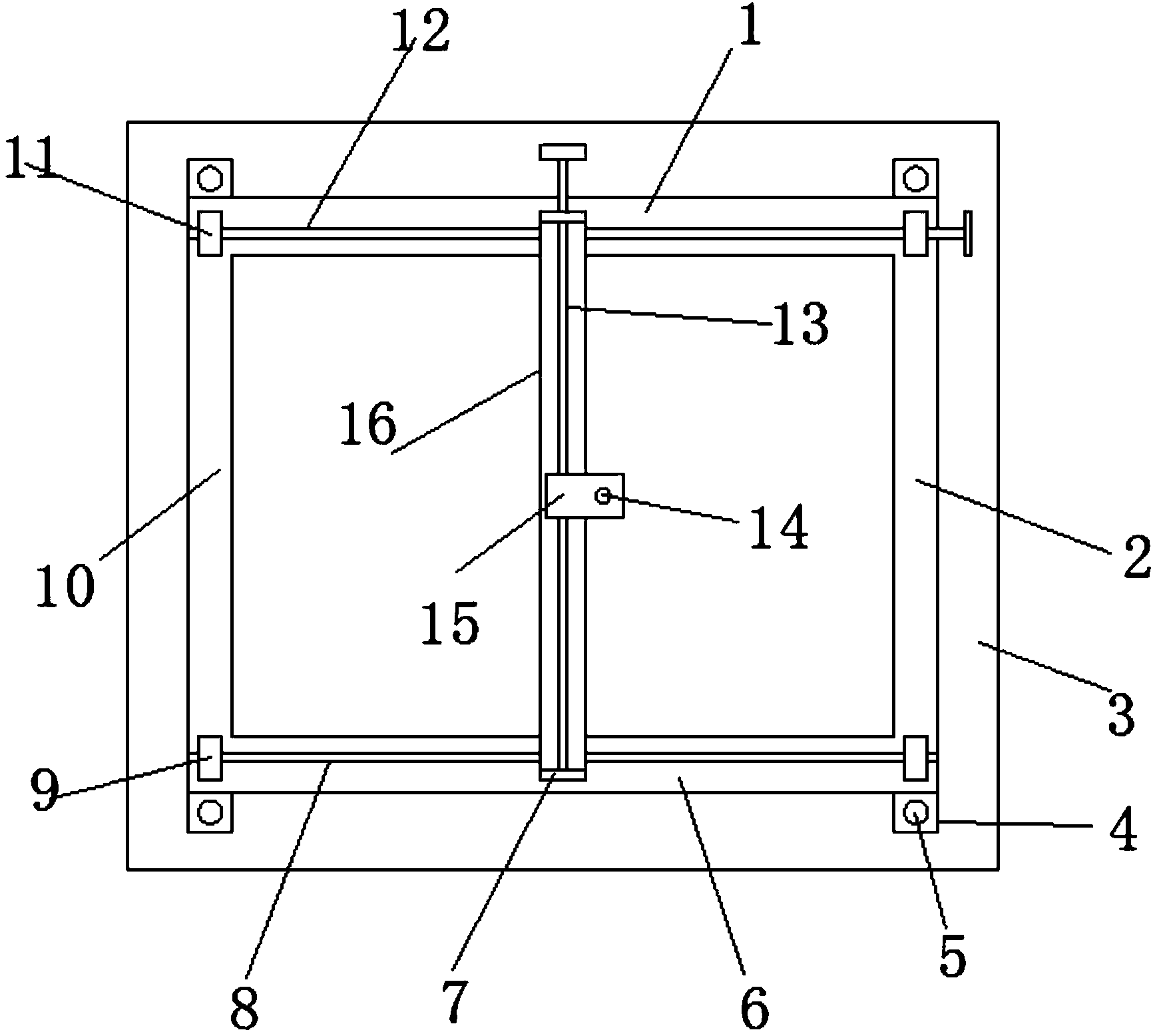
本实用新型公开了一种混凝土表面特征检测装置,它包括机架,机架上竖直设置有若干支撑腿;所述机架上滑动设置有移动梁,所述移动梁沿机架左右移动;所述移动梁上滑动设置有调节杆安装座,所述调节杆安装座沿移动梁长度方向前后移动;所述调节杆安装座上竖直设置有调节杆;所述调节杆上端设置在调节杆安装座上,下端设置有百分表;所述百分表,包括表盘和测量杆,所述表盘固设置在调节杆下端,测量杆竖直设置在表盘下方;当测量杆与被测面接触时,测量杆上下移动,使表盘上的指针偏转。该装置能够方便施工现场的快速的检测混凝土表面的粗糙度。


