授权公布号:CN216194669U
一种高强度的预应力混凝土管桩
有效
申请
2021-07-29
申请公布
1970-01-01
授权
2022-04-05
预估到期
2031-07-29
| 申请号 | CN202121746963.8 |
| 申请日 | 2021-07-29 |
| 授权公布号 | CN216194669U |
| 授权公告日 | 2022-04-05 |
| 分类号 | E02D5/30;E02D5/58 |
| 分类 | 水利工程;基础;疏浚; |
| 申请人名称 | 唐山宝丰管桩有限公司 |
| 申请人地址 | 河北省唐山市丰南区临港经济开发区荣盛街20号 |
专利法律状态
2022-04-05
授权
状态信息
授权
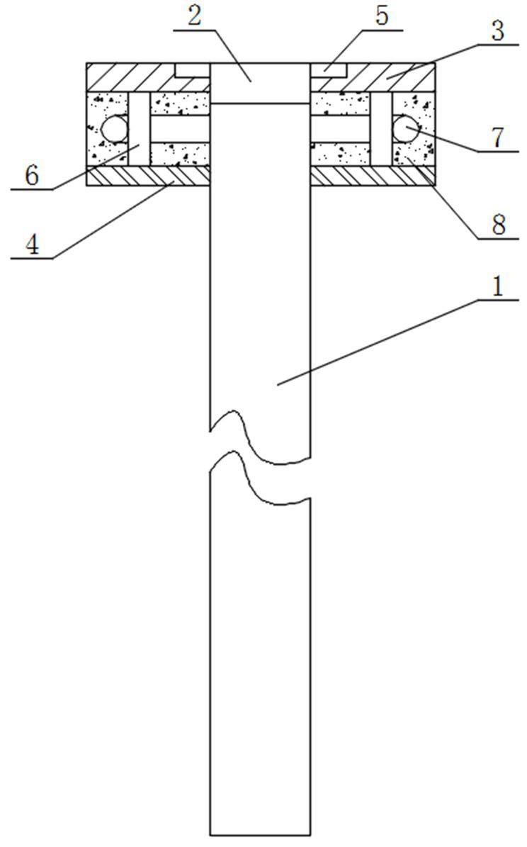
摘要
本实用新型涉及预应力混凝土管桩技术领域,尤其为一种高强度的预应力混凝土管桩,包括管桩主体以及固定在管桩主体顶端的连接头,所述管桩主体外侧设置起到支撑作用的支撑机构,本实用新型中,通过设置的连接头、第一支撑环、第二支撑环、连接块、第一钢筋、第二钢筋、混凝土和卡槽,通过第一支撑环以及第二支撑环可以增大管桩主体与地面之间的承载面,在顶部构件受到外力时,第一支撑环以及第二支撑环会减少管桩主体受到的外力,防止管桩主体出现裂纹或者断裂,从而增到了管桩主体的强度,同时在第一钢筋、第二钢筋和混凝土的作用也增加了第一支撑环以及第二支撑环的使用强度。


