授权公布号:CN218195921U
一种管桩定量布料装置
有效
申请
2022-05-12
申请公布
1970-01-01
授权
2023-01-03
预估到期
2032-05-12
| 申请号 | CN202221145606.0 |
| 申请日 | 2022-05-12 |
| 授权公布号 | CN218195921U |
| 授权公告日 | 2023-01-03 |
| 分类号 | B28B13/02;B28B21/56 |
| 分类 | 加工水泥、黏土或石料; |
| 申请人名称 | 浙江金鑫管桩有限公司 |
| 申请人地址 | 浙江省杭州市富阳区鹿山街道蒋家村 |
专利法律状态
2023-01-03
授权
状态信息
授权
摘要
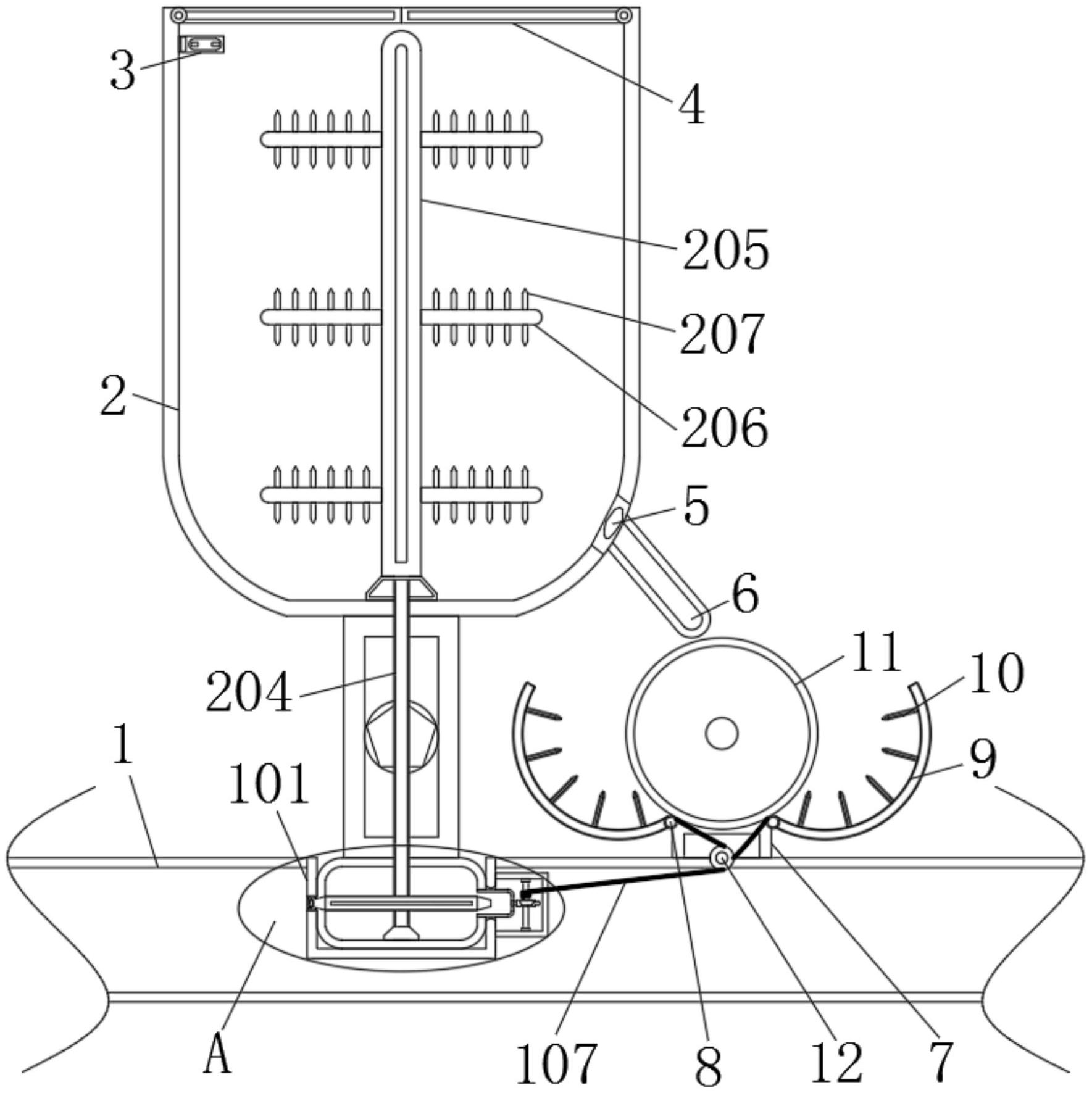
本实用新型涉及管桩布料技术领域,且公开了一种管桩定量布料装置,包括基板,所述基板的左侧开设有滑槽,滑槽左侧侧壁的中部开设有条形槽,条形槽的内腔设置有卡块,滑槽的右侧固定安装有条形框,条形框的内腔设置有限位杆,限位杆的中部设置有齿轮一;该管桩定量布料装置,通过齿轮二结构和搅拌杆结构的配合使用,在装置工作时,利用滑块在滑槽内前后移动,以此将混凝土料从漏料管喷入钢筋笼内,移动过程中,随着齿轮二与卡块的接触,使得齿轮二发生旋转,从而带动圆杆和搅拌杆旋转,以此在喷注混凝土料的同时对漏料框内的混凝土料进行搅拌混合,以此消除漏料框内混凝土料内的气泡,使得浇灌后的管桩质量更好。


