授权公布号:CN218405387U
一种带抗震结构的混凝土管桩
有效
申请
2022-08-26
申请公布
1970-01-01
授权
2023-01-31
预估到期
2032-08-26
| 申请号 | CN202222262589.5 |
| 申请日 | 2022-08-26 |
| 授权公布号 | CN218405387U |
| 授权公告日 | 2023-01-31 |
| 分类号 | E02D5/30;E02D5/72;E02D31/08 |
| 分类 | 水利工程;基础;疏浚; |
| 申请人名称 | 浙江金鑫管桩有限公司 |
| 申请人地址 | 浙江省杭州市富阳区鹿山街道蒋家村 |
专利法律状态
2023-01-31
授权
状态信息
授权
摘要
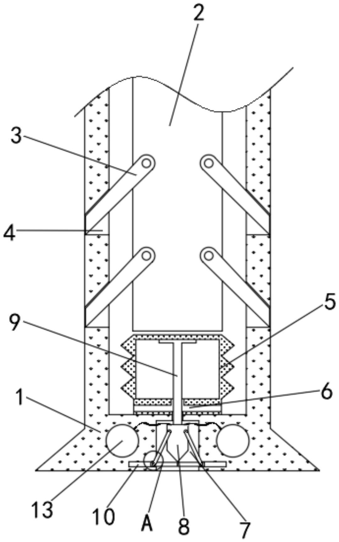
本实用新型涉及建筑施工技术领域,且公开了一种带抗震结构的混凝土管桩,包括空心管桩,所述空心管桩的内部活动安装有竖直圆柱,竖直圆柱上沿竖直方向阵列设置有若干个活动支杆,空心管桩的外表面开设有避让通孔,空心管桩内腔的底端固定安装有弹性储囊,弹性储囊的下端水平开设有排液通道,空心管桩下端的内部竖直开设有安装底槽,安装底槽的内部活动安装有感应探头,感应探头的上端转动连接有连动推杆,安装底槽下端的左右两侧均开设有封堵滑槽,封堵滑槽的内部滑动连接有封堵滑板,封堵滑板与感应探头的上端之间通过斜推支杆活动连接,空心管桩下端的内部固定安装有信号发射器,信号发射器与感应探头之间通过导线电性连接。


