授权公布号:CN213000156U
一种管桩砂石破碎制备装置
有效
申请
2020-06-09
申请公布
1970-01-01
授权
2021-04-20
预估到期
2030-06-09
| 申请号 | CN202021047427.4 |
| 申请日 | 2020-06-09 |
| 授权公布号 | CN213000156U |
| 授权公告日 | 2021-04-20 |
| 分类号 | B07B1/28;B07B1/42;B07B1/46;B02C23/00;B02C2/02;B02C23/10 |
| 分类 | 破碎、磨粉或粉碎;谷物碾磨的预处理; |
| 申请人名称 | 浙江金鑫管桩有限公司 |
| 申请人地址 | 浙江省杭州市杭州富阳区鹿山街道蒋家村 |
专利法律状态
2021-04-20
授权
状态信息
授权
摘要
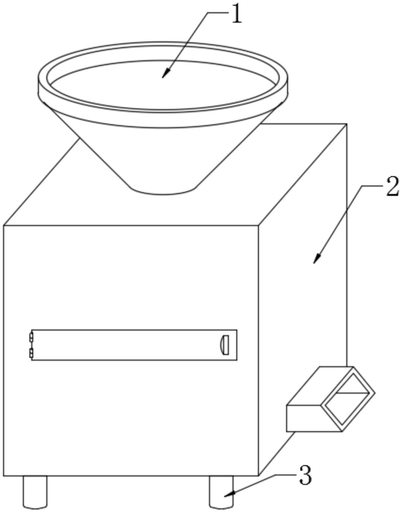
本实用新型提供一种管桩砂石破碎制备装置,包括下料斗、研磨板、圆锥破碎头、转动座、电机、筛网、出料槽、偏心轮、出砂口以及传动轴,砂石破碎主体上侧安装有下料斗,砂石破碎主体内部上侧安装有研磨板,研磨板左侧开设有出砂口,研磨板内部安装有圆锥破碎头,圆锥破碎头下侧装配有转动座,转动座下侧装配有传动轴,传动轴右侧安装有电机,出砂口下侧安装有筛网,筛网左侧安装有偏心轮,筛网右侧安装有出料槽,该设计解决了原有管桩用砂石制取质量低下的问题,本实用新型结构合理,便于高效制取管桩用砂石,实用性强。


