授权公布号:CN212646381U
混凝土用砂含泥量检测装置
有效
申请
2020-06-16
申请公布
1970-01-01
授权
2021-03-02
预估到期
2030-06-16
| 申请号 | CN202021115069.6 |
| 申请日 | 2020-06-16 |
| 授权公布号 | CN212646381U |
| 授权公告日 | 2021-03-02 |
| 分类号 | G01N5/04 |
| 分类 | 测量;测试; |
| 申请人名称 | 浙江金鑫管桩有限公司 |
| 申请人地址 | 浙江省杭州市杭州富阳区鹿山街道蒋家村 |
专利法律状态
2021-03-02
授权
状态信息
授权
摘要
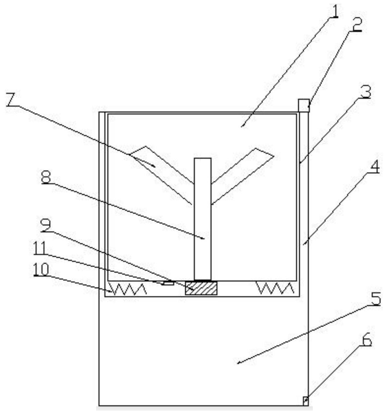
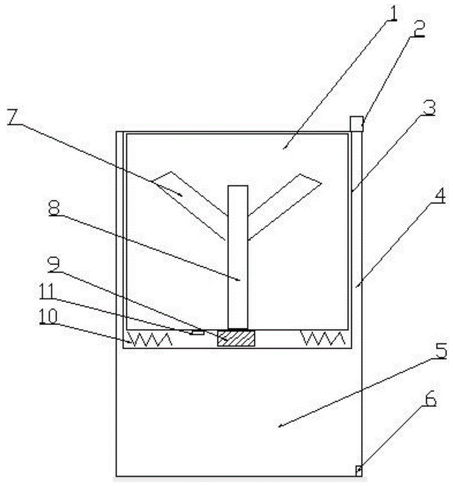
本实用新型提供的混凝土用砂含泥量检测装置,其设置一料仓,料仓四壁为孔径0.5‑1mm筛网,在料仓外设有一外壳,外壳与料仓四壁沟通出水通道,料仓底部中间开有圆孔,转轴从中间穿过,转轴上设有搅拌叶片,转轴和料仓底部连接处设有防水塞,转轴连接设于料仓底部下沿电机的中轴,料仓底部设有一重量传感器,重量传感器连接外壳上方显示屏,料仓底部另设加热棒,加热棒连接电源;电机安装于隔片,隔片与外壳之间构成泥水仓,泥水仓下沿设有出水口,采用本装置实现碎石含泥量检测,以满足管桩制作强度需要。


