授权公布号:CN213166052U
一种混凝土自动喂料装置
有效
申请
2020-06-09
申请公布
1970-01-01
授权
2021-05-11
预估到期
2030-06-09
| 申请号 | CN202021048124.4 |
| 申请日 | 2020-06-09 |
| 授权公布号 | CN213166052U |
| 授权公告日 | 2021-05-11 |
| 分类号 | B28B13/02 |
| 分类 | 加工水泥、黏土或石料; |
| 申请人名称 | 浙江金鑫管桩有限公司 |
| 申请人地址 | 浙江省杭州市杭州富阳区鹿山街道蒋家村 |
专利法律状态
2021-05-11
授权
状态信息
授权
摘要
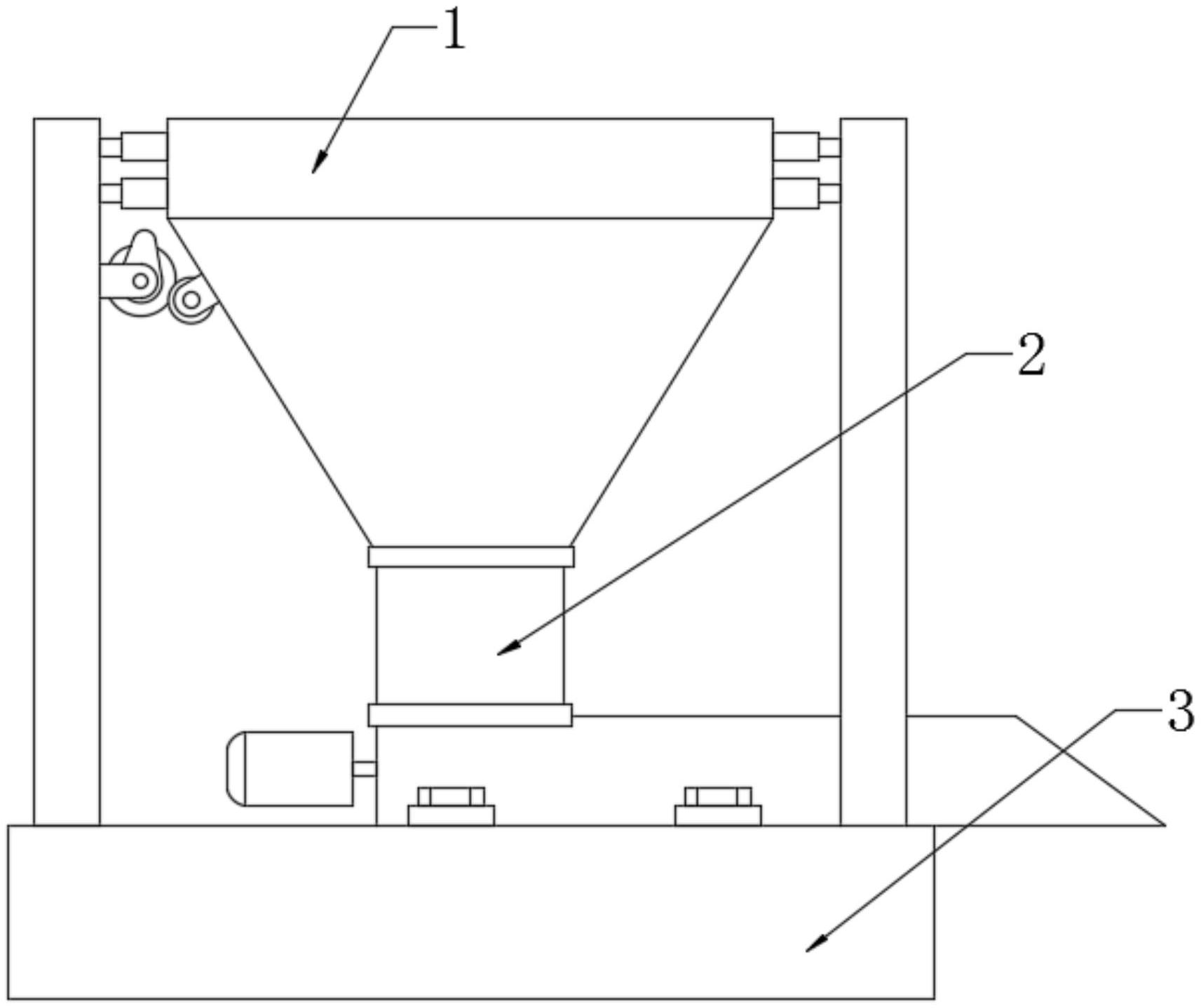
本实用新型提供一种混凝土自动喂料装置,包括支撑杆一、弹簧杆、下料斗、支撑杆二、出料槽、橡皮管、电机一、偏心轮、绞龙轴、电机二以及从动轮,混凝土喂料主体上侧安装有下料斗,下料斗左右两侧安装有弹簧杆,弹簧杆左侧安装有支撑杆一,弹簧杆右侧安装有支撑杆二,支撑杆一右侧安装有偏心轮,偏心轮后侧安装有电机二,下料斗左侧安装有从动轮,下料斗下侧安装有橡皮管,橡皮管下侧安装有出料槽,出料槽内部安装有绞龙轴,出料槽左侧安装有电机一,该设计解决了原有混凝土在喂料时易卡料的问题,本实用新型结构合理,便于有效防止混凝土在喂料时卡料情况的发生。


