授权公布号:CN212878295U
一种学习课桌
有效
申请
2020-07-07
申请公布
1970-01-01
授权
2021-04-06
预估到期
2030-07-07
| 申请号 | CN202021312048.3 |
| 申请日 | 2020-07-07 |
| 授权公布号 | CN212878295U |
| 授权公告日 | 2021-04-06 |
| 分类号 | A47B13/02;A47B9/20;A47B41/00 |
| 分类 | 家具;家庭用的物品或设备;咖啡磨;香料磨;一般吸尘器; |
| 申请人名称 | 郑州人本心理咨询有限公司 |
| 申请人地址 | 河南省郑州市金水区文化路126号1号楼东2单元4层402号 |
专利法律状态
2021-04-06
授权
状态信息
授权
摘要
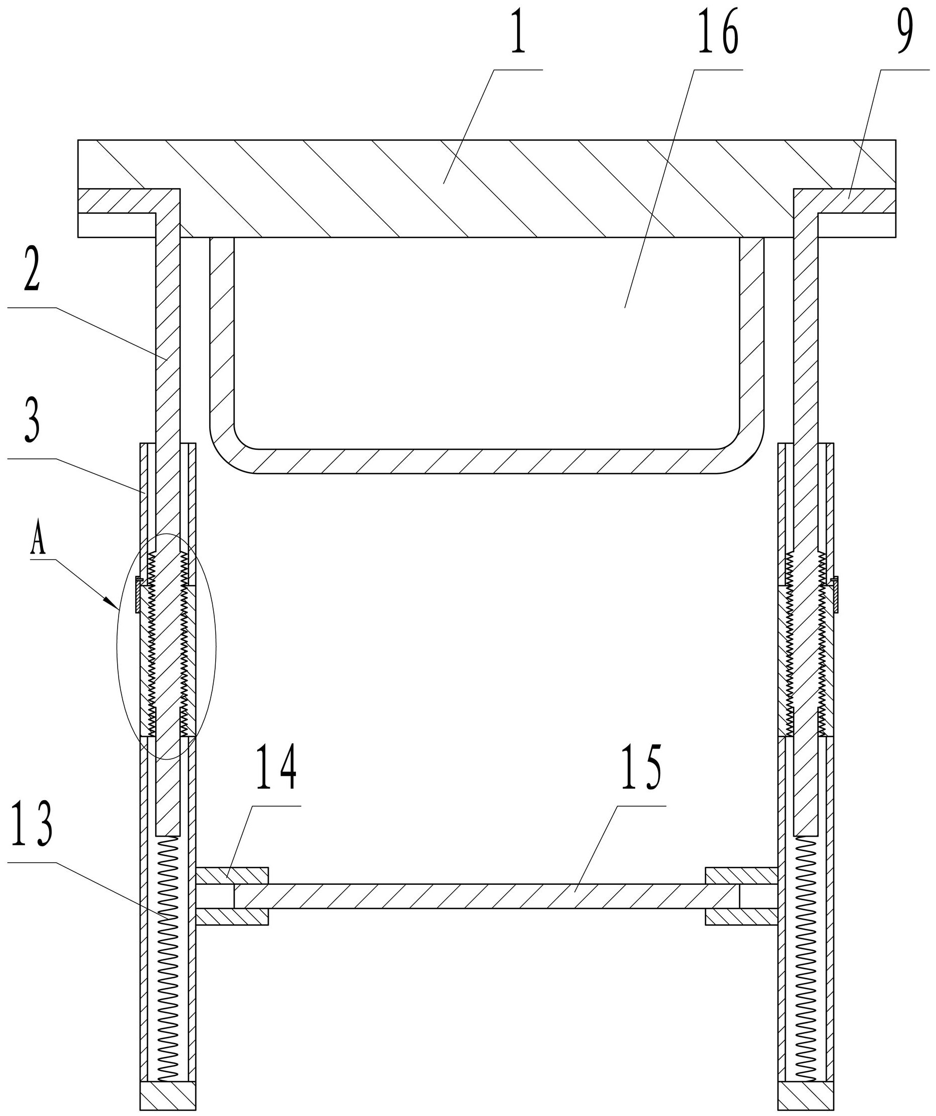
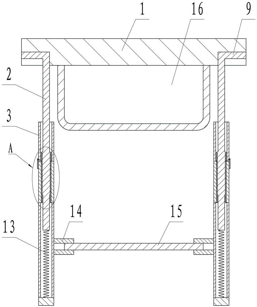
本实用新型涉及一种学习课桌,有效的解决了现有技术中高度可调的课桌调节间距大或调节高度后固定不牢靠的问题;其解决的技术方案包括每个桌腿由一个竖杆和一个套管组成,竖杆插装在套管内且竖杆的左右端面分别设有一端第一锯齿,套管的左右两侧插装有第一竖板和第二竖板,第一竖板和第二竖板经一个连接板连接并构成一个U形板,第一竖板与连接板固定连接,第二竖板与连接板铰接并能围绕铰接轴水平转动;第一竖板和第二竖板上均设有与第一锯齿啮合的第二锯齿,当第二竖板水平转动至与连接板处于同一水平面时,第一竖板、第二竖板和连接板构成一个能从套管内抽出的L形板,使第二锯齿与第一锯齿脱离啮合,使竖杆能在套管内上下移动。


