授权公布号:CN212307664U
一种多功能抗菌淋浴屏
有效
申请
2019-10-28
申请公布
1970-01-01
授权
2021-01-08
预估到期
2029-10-28
| 申请号 | CN201921830682.3 |
| 申请日 | 2019-10-28 |
| 授权公布号 | CN212307664U |
| 授权公告日 | 2021-01-08 |
| 分类号 | A47K3/28 |
| 分类 | 家具;家庭用的物品或设备;咖啡磨;香料磨;一般吸尘器; |
| 申请人名称 | 佛山市汉逊电器实业有限公司 |
| 申请人地址 | 广东省佛山市顺德区杏坛镇高赞村委会二环路9号顺德智富园12栋401 |
专利法律状态
2021-01-08
授权
状态信息
授权
摘要
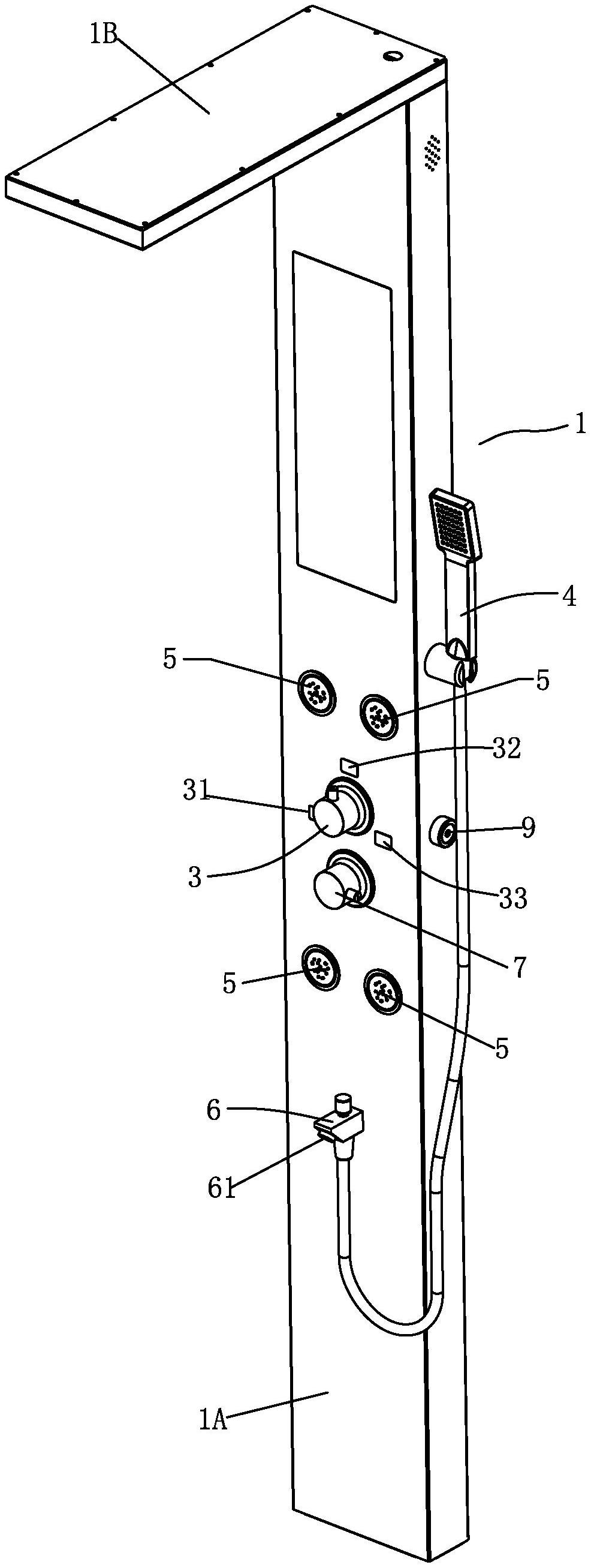
一种多功能抗菌淋浴屏,包括主体、即热式电热水装置、转换阀、顶喷花洒和手持花洒,所述转换阀为三路四通阀,还包括四个侧喷花洒和二功能控制阀,二功能控制阀上设有出水接口和出水嘴;二个侧喷花洒设在转换阀上部的垂直部上、另二个侧喷花洒设有转换阀下部的垂直部上;侧喷花洒通过导水管串联在一起,导水管与转换阀连通;二功能控制阀固定在所述垂直部的前面板上,二功能控制阀与所述转换阀连通,出水接口与所述手持花洒连通;所述换热水路、所述冷水进水管、导水管、与顶喷花洒及手持花洒连通的管路的内壁上衬有抗菌层。由于采用这样的结构,侧喷花洒的设置,可以方便地冲洗背部和胸部,使用方便;抗菌层的设置实现抗菌。


