授权公布号:CN108336451B
充电电池及其电芯
有效
申请
2018-03-30
申请公布
2018-07-27
授权
2024-03-26
预估到期
2038-03-30
| 申请号 | CN201810297632.7 |
| 申请日 | 2018-03-30 |
| 申请公布号 | CN108336451A |
| 申请公布日 | 2018-07-27 |
| 授权公布号 | CN108336451B |
| 授权公告日 | 2024-03-26 |
| 分类号 | H01M10/613;H01M10/6554;H01M10/615;H01M10/617;H01M10/6571;H01M10/653;H01M10/42 |
| 分类 | 基本电气元件; |
| 申请人名称 | 深圳市元创时代科技有限公司 |
| 申请人地址 | 广东省深圳市龙岗区吉华街道甘坑社区甘李六路12号中海信创新产业城14栋A1903(一照多址企业) |
专利法律状态
2024-03-26
授权
状态信息
授权
2024-01-02
专利申请权、专利权的转移
状态信息
专利申请权的转移;IPC(主分类):H01M10/613;登记生效日:20231218;变更事项:申请人;变更前:湖南容创科技有限公司;变更后:深圳市元创时代科技有限公司;变更事项:地址;变更前:410000 湖南省长沙市高新开发区岳麓西大道588号芯城科技园8栋1101房;变更后:518000 广东省深圳市龙岗区吉华街道甘坑社区甘李六路12号中海信创新产业城14栋A1903(一照多址企业)
2024-01-02
著录事项变更
状态信息
著录事项变更;IPC(主分类):H01M10/613;变更事项:申请人;变更前:湖南金杯新能源发展有限公司;变更后:湖南容创科技有限公司;变更事项:地址;变更前:410000 湖南省长沙市高新开发区东方红中路580号一期厂房、机修房、变电所栋101一层;变更后:410000 湖南省长沙市高新开发区岳麓西大道588号芯城科技园8栋1101房
2018-08-21
实质审查的生效
状态信息
实质审查的生效;IPC(主分类):H01M10/613;申请日:20180330
2018-07-27
公布
状态信息
公布
摘要
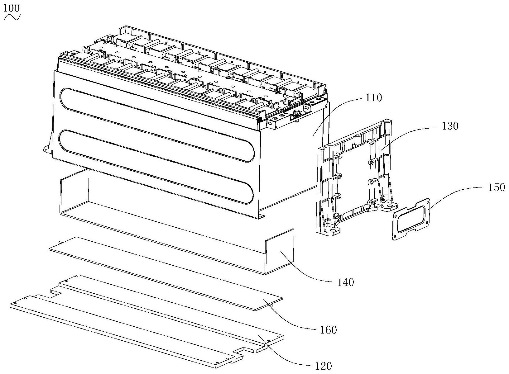
本发明涉及一种电芯,包括电芯主体、起支撑作用的底板、两个支撑板及U形导热板。其中,电芯主体具有相对的两个端面及连接两个端面的侧面。两个支撑板分别与底板相对的两端固定连接,并与底板配合形成U型安装部,电芯主体收容并固定于U型安装部内。U形导热板包括导热部及分别设置于导热部相对两端的两个固定部。导热部夹持于侧面与底板之间,且两个固定部分别与两个端面贴合。本发明还涉及一种充电电池。U形导热板的应用,有效地减小了电芯的温差,从而使得充电电池的温差更小。


