授权公布号:CN115157141B
测试设备
有效
申请
2022-07-05
申请公布
2022-10-11
授权
2023-08-25
预估到期
2042-07-05
| 申请号 | CN202210785123.5 |
| 申请日 | 2022-07-05 |
| 申请公布号 | CN115157141A |
| 申请公布日 | 2022-10-11 |
| 授权公布号 | CN115157141B |
| 授权公告日 | 2023-08-25 |
| 分类号 | B25B11/00 |
| 分类 | 手动工具;轻便机动工具;手动器械的手柄;车间设备;机械手; |
| 申请人名称 | 深圳市元创时代科技有限公司 |
| 申请人地址 | 广东省深圳市龙岗区吉华街道甘坑社区甘李六路12号中海信创新产业城14栋A1903-1904 |
专利法律状态
2023-08-25
授权
状态信息
授权
2022-10-11
公布
状态信息
公布
摘要
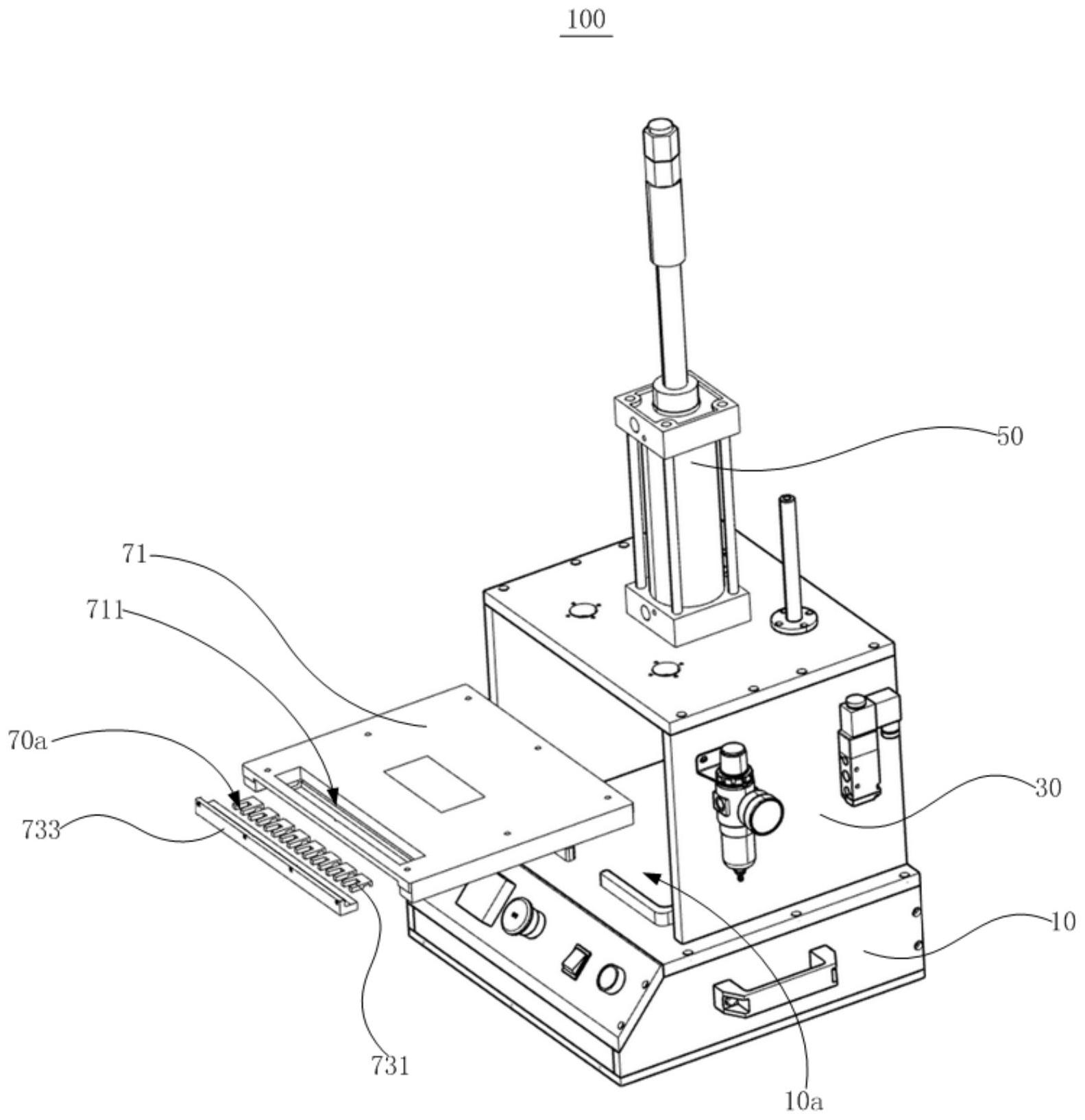
本发明公开一种测试设备,应用于转发器测试,测试设备包括机座、机架、推动装置以及测试装置,机座设有安装工位,安装工位用于安装转发器;机架安装在机座上;推动装置安装在机架上;测试装置安装在推动装置的运动端,测试装置朝向安装工位的表面设有多个装配位,多个装配位依次排列,且相邻两装配位的间距可调节,装配位用于安装USB接头。本发明技术方案能够对不同规格的转发器测试。


