授权公布号:CN212896444U
新型推流机水下安装结构
有效
申请
2020-06-15
申请公布
1970-01-01
授权
2021-04-06
预估到期
2030-06-15
| 申请号 | CN202021093880.9 |
| 申请日 | 2020-06-15 |
| 授权公布号 | CN212896444U |
| 授权公告日 | 2021-04-06 |
| 分类号 | E02D27/44;F16M11/22;F16M11/04;F16M11/18 |
| 分类 | 水利工程;基础;疏浚; |
| 申请人名称 | 南京蓝领环境科技有限公司 |
| 申请人地址 | 江苏省南京市六合区马鞍镇矿业机电产业园1号 |
专利法律状态
2021-04-06
授权
状态信息
授权
摘要
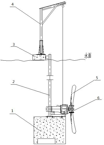
本实用新型属于机械设备技术领域,涉及一种新型推流机水下安装结构,其特征在于它包括水上部分与水下部分;所述水上部分包括水面固定支架及安装在水面固定支架上的调节式吊头;所述水下部分包括固定支柱,固定支柱的下端固定于混凝土底座上,混凝土底座上设有推流机支撑座;所述固定支柱与水面固定支架连接,欲安装推流机可沿固定支柱上下移动。本实用新型安装方便、快捷;不用抽干池中水,适用于任何环境下。


