授权公布号:CN217449924U
一种便于安装的节能潜水搅拌机
有效
申请
2022-05-24
申请公布
1970-01-01
授权
2022-09-20
预估到期
2032-05-24
| 申请号 | CN202221259878.3 |
| 申请日 | 2022-05-24 |
| 授权公布号 | CN217449924U |
| 授权公告日 | 2022-09-20 |
| 分类号 | B01F33/00;B01F35/43;B01F35/45 |
| 分类 | 一般的物理或化学的方法或装置; |
| 申请人名称 | 南京兰江水处理设备有限公司 |
| 申请人地址 | 江苏省南京市六合区雄州街道丰原路6号 |
专利法律状态
2022-09-20
授权
状态信息
授权
摘要
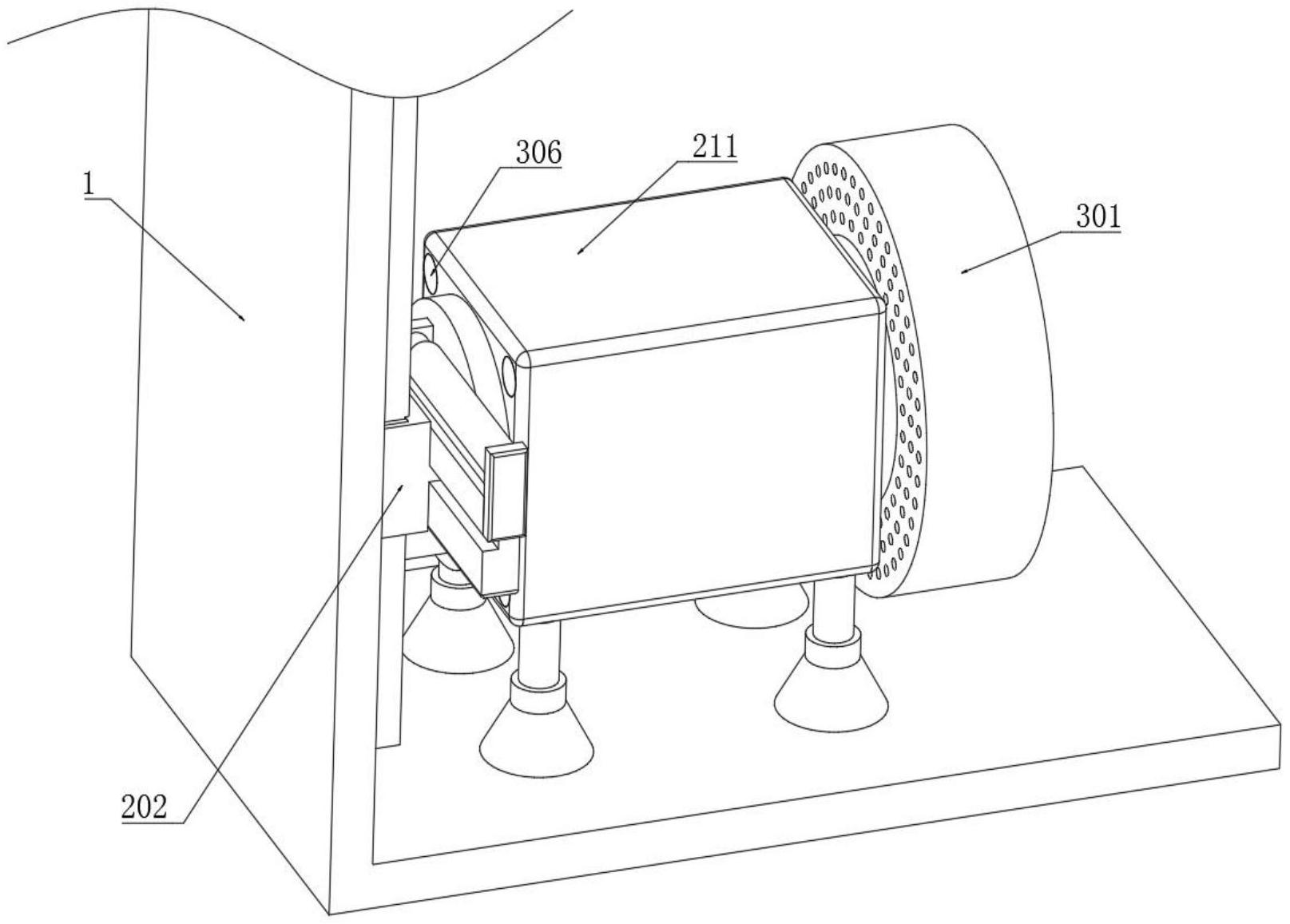
本实用新型公开了一种便于安装的节能潜水搅拌机,污水池内部底端安装有导轨,导轨两侧滑动连接有卡接板,卡接板内开设有凹槽,凹槽内转动连接有滚筒,两个卡接板分别滑动连接于安装板一侧两边,安装板一侧对应卡接板处开设有滑槽,一个卡接板顶端安装有连接板,另一个卡接板底端安装有连接板,安装板两侧对角处通过螺钉安装有固定板,固定板一侧通过螺钉安装有电动推杆,安装板一侧通过螺钉安装有搅拌机泵体,通过安装板能够使搅拌机泵体与导轨之间进行便捷的连接,安装板与导轨之间能够进行便捷的滑动,并且卡接板之间的间距可调节,能够安装在不同长度的导轨上,能够简单快速的将搅拌机泵体安装在污水池底部。


