授权公布号:CN213617566U
一种冲压式搅拌机
有效
申请
2020-09-22
申请公布
1970-01-01
授权
2021-07-06
预估到期
2030-09-22
| 申请号 | CN202022100935.0 |
| 申请日 | 2020-09-22 |
| 授权公布号 | CN213617566U |
| 授权公告日 | 2021-07-06 |
| 分类号 | B28C5/48 |
| 分类 | 加工水泥、黏土或石料; |
| 申请人名称 | 南京兰江水处理设备有限公司 |
| 申请人地址 | 江苏省南京市六合区雄州街道丰原路6号 |
专利法律状态
2021-07-06
授权
状态信息
授权
摘要
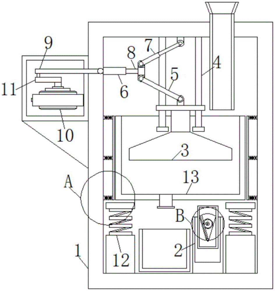
本实用新型公开了一种冲压式搅拌机,涉及搅拌设备领域,包括主体,所述主体的内部设置有冲压腔,且冲压腔的底端两侧设置有与主体内壁连接底端伸缩块,所述伸缩块的一侧位于冲压腔的底端设置有升降机构,且冲压腔的上方设置有与主体内壁连接的滑杆。本实用新型通过设置冲压块、滑杆、连接杆、主动杆和从动杆,电机输出端旋转带动转杆进行旋转,转杆通过主动杆推动着从动杆在套筒内部滑动,从动杆推动着伸缩杆和连接杆逐渐处与垂直状态,同时连接杆推动着冲压块进行降低,对冲压腔内部的原料进行冲压,达到对原料冲压结构简单,便于后期对设备进行维修,同时起到对原料冲压品质较高的效果。


