授权公布号:CN215480334U
一种工业废水回收利用装置
有效
申请
2021-07-21
申请公布
1970-01-01
授权
2022-01-11
预估到期
2031-07-21
| 申请号 | CN202121673316.9 |
| 申请日 | 2021-07-21 |
| 授权公布号 | CN215480334U |
| 授权公告日 | 2022-01-11 |
| 分类号 | C02F9/10 |
| 分类 | 水、废水、污水或污泥的处理; |
| 申请人名称 | 南京蓝奥环保设备有限公司 |
| 申请人地址 | 江苏省南京市六合区雄州工业区腾飞路10号 |
专利法律状态
2022-01-11
授权
状态信息
授权
摘要
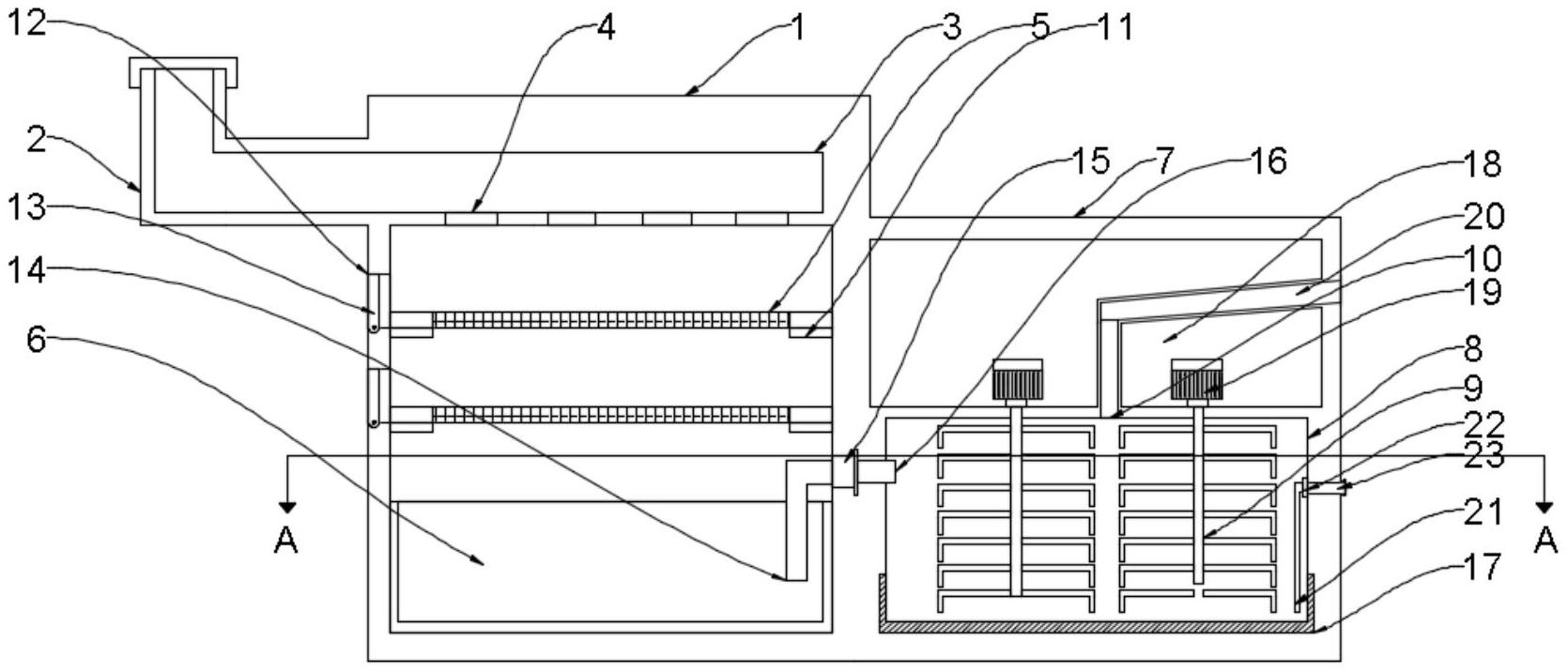
本实用新型公开了一种工业废水回收利用装置,涉及废水回收技术领域,为解决现有提出工业废水中含有的杂质较多,一般在进行初步过滤时不够到位并且不易取出杂物,长时使用影响废水过滤质量,同时在进行药物净化时也出现融合不到位的问题。所述第一处理箱一侧设置有废水管,所述第一处理箱内开设有入水槽,所述入水槽内底部开设有等距分布的开口,所述第一处理箱内设置有对称的过滤网,两个所述过滤网上下陈列,所述第一处理箱内底部设置有沉淀箱,所述沉淀箱位于过滤网下方,所述第一处理箱一侧设置有第二处理箱,所述第二处理箱内设置有搅拌槽,所述搅拌槽内设置有对称的搅拌杆,所述搅拌槽顶部开设有入药口。


