授权公布号:CN217976742U
一种磁悬浮高速离心式曝气风机
有效
申请
2022-08-08
申请公布
1970-01-01
授权
2022-12-06
预估到期
2032-08-08
| 申请号 | CN202222073225.2 |
| 申请日 | 2022-08-08 |
| 授权公布号 | CN217976742U |
| 授权公告日 | 2022-12-06 |
| 分类号 | F04D29/62 |
| 分类 | 液体变容式机械;液体泵或弹性流体泵; |
| 申请人名称 | 南京南蓝环保产业有限公司 |
| 申请人地址 | 江苏省南京市南金牛湖街道金牛湖路136号 |
专利法律状态
2022-12-06
授权
状态信息
授权
摘要
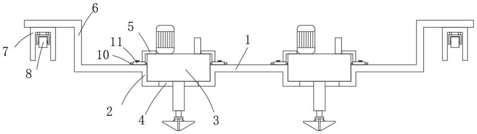
本申请涉及曝气风机技术领域,且公开了一种磁悬浮高速离心式曝气风机,包括横板,所述横板的表面一体下沉有多个安装框,所述安装框内安设有曝气机本体,所述安装框的下端开设有用于曝气机本体下端曝气头贯穿的矩形开口,所述横板的上端对称卡接有多个压接在曝气机本体上端的L形压板,所述横板的两端均一体连接有L形支撑板,所述L形支撑板水平部的下侧固定连接有U形挡板,所述U形挡板的顶部内壁固定连接有多个支撑滚轮。本申请无需对曝气机进行水下安装使用,操作方便,且能够对曝气位置进行快速调节变化,适用范围广,节约能源。


