授权公布号:CN205190319U
排污泵新型叶轮撕裂结构
有效
申请
2015-12-02
申请公布
1970-01-01
授权
2016-04-27
预估到期
2025-12-02
| 申请号 | CN201520985763.6 |
| 申请日 | 2015-12-02 |
| 授权公布号 | CN205190319U |
| 授权公告日 | 2016-04-27 |
| 分类号 | F04D29/22;F04D29/08;F04D29/00 |
| 分类 | 液体变容式机械;液体泵或弹性流体泵; |
| 申请人名称 | 南京布鲁克林环保设备有限公司 |
| 申请人地址 | 江苏省南京市六合区经济开发区龙群路8号 |
专利法律状态
2016-04-27
授权
状态信息
授权
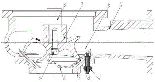
摘要
本实用新型涉及的是排污泵,尤其涉及的是一种排污泵新型叶轮撕裂结构,包括涡壳及置于涡壳内的叶轮和密封环,其特征是所述密封环的进水口处增设凸台,密封环与叶轮配合面处设置螺旋状凹槽。本实用新型在排污泵的密封环进水口出增加凸台,起到拦截异物的作用,密封环上的螺旋状凹槽设计,与叶轮边缘配合形成切割槽,切割异物,与高速旋转的叶轮形成刃口,对异物进行多道切割,降低叶轮被堵塞的情况出现,保证排污泵的稳定长期周期运行。


