授权公布号:CN214780980U
一种MBBR流动生物载体除气装置
有效
申请
2021-05-27
申请公布
1970-01-01
授权
2021-11-19
预估到期
2031-05-27
| 申请号 | CN202121161589.5 |
| 申请日 | 2021-05-27 |
| 授权公布号 | CN214780980U |
| 授权公告日 | 2021-11-19 |
| 分类号 | C02F3/00 |
| 分类 | 水、废水、污水或污泥的处理; |
| 申请人名称 | 南京布鲁克林环保设备有限公司 |
| 申请人地址 | 江苏省南京市六合区龙池街道龙群路8号 |
专利法律状态
2021-11-19
授权
状态信息
授权
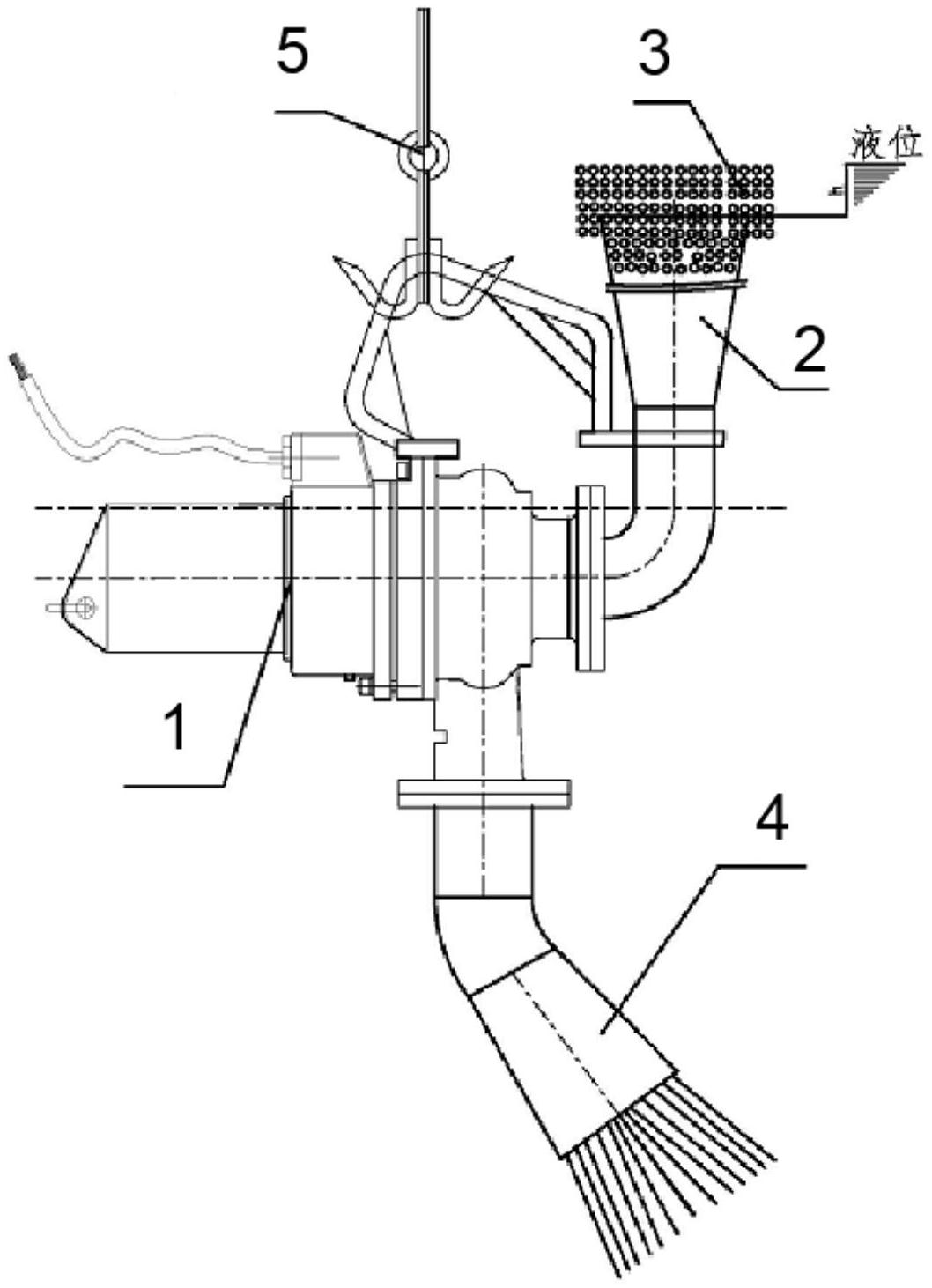
摘要
本实用新型公开了一种MBBR流动生物载体除气装置,包括除气动力装置与漂浮在废水液面上的含气悬浮生物载体,所述除气动力装置通过起吊装置下放至废水处理池内,且完全没入至废水液面以下,所述除气动力装置尾座右侧的物料吸入端连接有生物载体吸口管,所述除气动力装置尾座底侧的物料排出端连接有生物载体出口管,所述含气悬浮生物载体通过生物载体吸口管吸入至除气动力装置内。本实用新型通过叶轮上特有的流道挤压变形,将表面气泡脱除,从而达到脱气的效果,该种叶轮流道特有的柔和输送特性,使得此过程并不会因为装置腔体的挤压和旋转而加速载体的磨损,也不会将附着的生物完全脱除,所以本装置的脱气并不会影响生化处理的效果。


