授权公布号:CN208123085U
一种防止污水泵过载的自动调节控制系统
有效
申请
2018-01-20
申请公布
1970-01-01
授权
2018-11-20
预估到期
2028-01-20
| 申请号 | CN201820094312.7 |
| 申请日 | 2018-01-20 |
| 授权公布号 | CN208123085U |
| 授权公告日 | 2018-11-20 |
| 分类号 | F04D15/00;F04D15/02;F04D29/70;F04D29/00 |
| 分类 | 液体变容式机械;液体泵或弹性流体泵; |
| 申请人名称 | 南京拜思特环保设备有限公司 |
| 申请人地址 | 江苏省南京市六合区程桥镇羊山村 |
专利法律状态
2018-11-20
授权
状态信息
授权
摘要
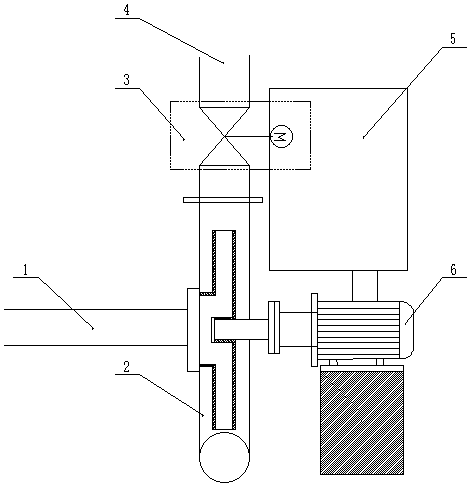
本实用新型专利公开了一种防止污水泵过载的自动调节控制系统,包括:功率计、报警器、控制电路、电动阀。通过功率计的测量得到功率,当超过一定值时,报警器响起,使控制电路工作,进而改变电动阀开度,实现流量的减少‑增加,以达到防止污水泵过载和堵塞的效果。利用简单的系统结构,较少的工作设备,实现高性能的自动控制。


