授权公布号:CN210595752U
一种环保型螺旋压榨污泥机
有效
申请
2019-06-26
申请公布
1970-01-01
授权
2020-05-22
预估到期
2029-06-26
| 申请号 | CN201920970222.4 |
| 申请日 | 2019-06-26 |
| 授权公布号 | CN210595752U |
| 授权公告日 | 2020-05-22 |
| 分类号 | C02F11/125;C02F11/14 |
| 分类 | 水、废水、污水或污泥的处理; |
| 申请人名称 | 南京拜思特环保设备有限公司 |
| 申请人地址 | 江苏省南京市六合区程桥镇羊山村 |
专利法律状态
2020-05-22
授权
状态信息
授权
摘要
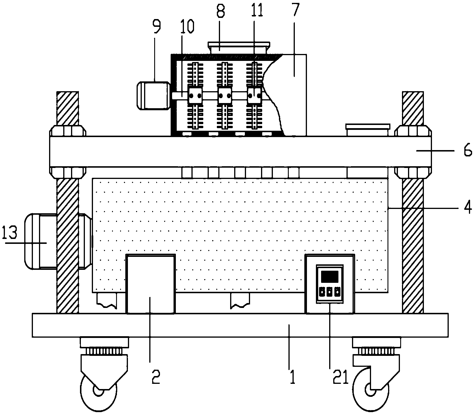
本实用新型公开了一种环保型螺旋压榨污泥机,包括底板丶箱体和振动电机,底板上端固定设置有两组底座,两组底座上端均设置有放置槽,箱体配合放置于放置槽上端,底座上端纵向设置有两组螺纹杆,螺纹杆上端设有顶板,顶板上端设有搅拌箱,搅拌箱上端设置有添加口,搅拌箱一侧设置有第一电机,搅拌箱内腔转动设置有搅拌轴,且搅拌轴一端与第一电机动力输出端固定连接,本实用新型通过添加剂搅拌箱将化学反应添加剂搅拌混合后导入压榨箱体内对污水进行净化处理,同时在出水的筛网底部设置有振动电机防止螺旋压榨污泥时污泥中的垃圾杂质填充筛网,另外本实用新型设置有移动机构便于整体在后期维护移动。


