授权公布号:CN218954059U
一种双偏心蝶阀
有效
申请
2022-11-18
申请公布
1970-01-01
授权
2023-05-02
预估到期
2032-11-18
| 申请号 | CN202223074003.9 |
| 申请日 | 2022-11-18 |
| 授权公布号 | CN218954059U |
| 授权公告日 | 2023-05-02 |
| 分类号 | F16K1/226;F16K1/36;F16K1/42;F16K1/32;F16K27/02;F16K31/53;F16K31/60;F16K41/02 |
| 分类 | 工程元件或部件;为产生和保持机器或设备的有效运行的一般措施;一般绝热; |
| 申请人名称 | 苏州纽威阀门股份有限公司 |
| 申请人地址 | 江苏省苏州市高新区泰山路666号 |
专利法律状态
2023-05-02
授权
状态信息
授权
摘要
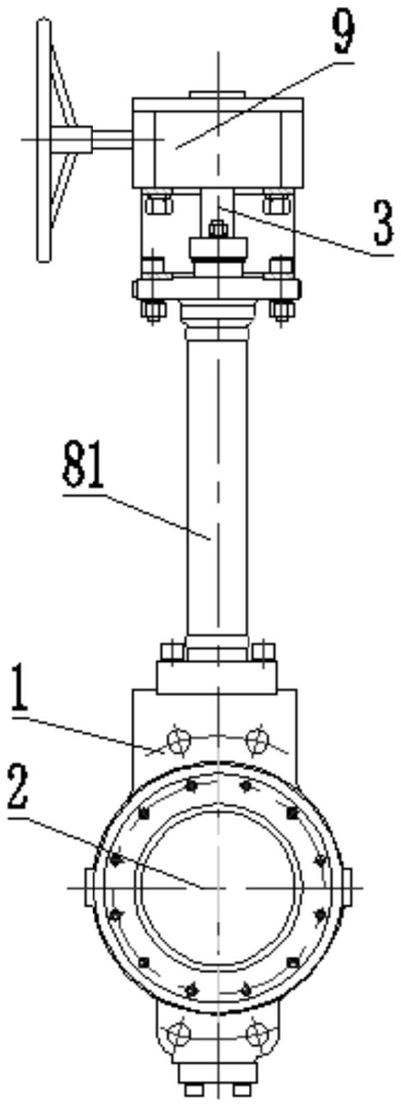
本实用新型提供一种双偏心蝶阀,包括阀体、蝶板、阀杆、软阀座和压环,所述阀体内设有流通腔,蝶板设于所述流通腔内,所述蝶板被配置为可相对所述阀体转动,以控制所述流通腔流通或关闭,阀杆与所述蝶板连接,以控制所述蝶板转动,软阀座设于所述流通腔侧壁与所述蝶板之间,以密封所述流通腔侧壁与所述蝶板连接处,压环设于所述软阀座一侧,所述压环与所述阀体连接,以固定所述软阀座,其中,所述软阀座与所述压环之间设有活动抵接组件,所述活动抵接组件具有驱动所述软阀座向所述蝶板与流通腔侧壁连接处方向移动的弹性力。


