授权公布号:CN219639509U
一种低温球阀
有效
申请
2023-04-21
申请公布
1970-01-01
授权
2023-09-05
预估到期
2033-04-21
| 申请号 | CN202320919401.1 |
| 申请日 | 2023-04-21 |
| 授权公布号 | CN219639509U |
| 授权公告日 | 2023-09-05 |
| 分类号 | F16K5/06;F16K5/08;F16K5/20;F16K27/06;F16K27/08 |
| 分类 | 工程元件或部件;为产生和保持机器或设备的有效运行的一般措施;一般绝热; |
| 申请人名称 | 苏州纽威阀门股份有限公司 |
| 申请人地址 | 江苏省苏州市高新区泰山路666号 |
专利法律状态
2023-09-05
授权
状态信息
授权
摘要
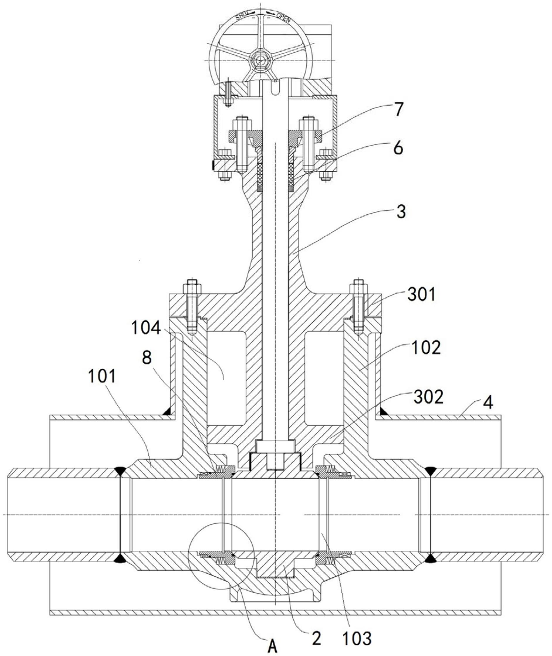
本实用新型涉及阀门技术领域,提供了一种低温球阀,包括:阀体,包括阀体本体和容纳本体,阀体本体具有阀腔,在阀腔内设置球体,容纳本体具有容纳腔;阀盖,阀盖适于盖设在阀体上,沿阀盖的轴向上开设阀杆腔,阀杆的一端适于穿过阀杆腔与球体连接,在阀盖的周向上设置安装部和至少一稳定部,安装部与阀体本体连接,所有的稳定部位于容纳腔内,且任一稳定部的外壁面与容纳腔的内壁面抵接;夹套,阀体的阀体本体和容纳本体适于形成安装区域,夹套避开安装部与阀体本体的连接处且设置在安装区域上。在需要对球阀进行在线维修时,将阀盖的安装部与容纳本体进行拆卸,由此完成了阀盖与阀体的分离,同时不会破坏位于安装区域内的夹套,维修方便。


