授权公布号:CN220566602U
一种蝶阀
有效
申请
2023-08-22
申请公布
1970-01-01
授权
2024-03-08
预估到期
2033-08-22
| 申请号 | CN202322263430.X |
| 申请日 | 2023-08-22 |
| 授权公布号 | CN220566602U |
| 授权公告日 | 2024-03-08 |
| 分类号 | F16K1/22;F16K1/226;F16K41/02;F16K27/08 |
| 分类 | 工程元件或部件;为产生和保持机器或设备的有效运行的一般措施;一般绝热; |
| 申请人名称 | 苏州纽威阀门股份有限公司 |
| 申请人地址 | 江苏省苏州市高新区泰山路666号 |
专利法律状态
2024-03-08
授权
状态信息
授权
摘要
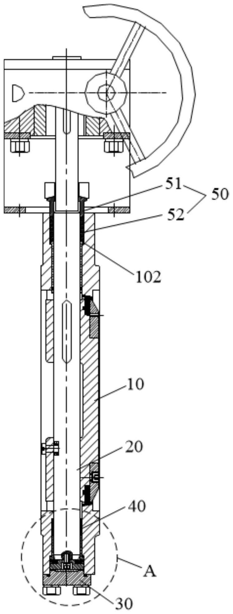
本实用新型公开了一种蝶阀,具体涉及阀门技术领域。该蝶阀包括阀体、阀杆、阀盖以及第一预紧密封组件;阀体设有阀腔,阀腔的腔壁上设有第一台阶面;阀杆插设于阀腔内;阀盖盖设于阀腔的开口上并压紧阀杆的一端;第一预紧密封组件包括第一压套、多圈第一填料及第一弹性件,第一压套套设于阀杆的端部上,第一弹性件设于第一压套的一端与阀盖之间,多圈第一填料环绕阀杆设置并位于第一压套的另一端与第一台阶面之间。本实用新型改进了阀杆的密封结构,提升了蝶阀的密封性能,避免了密封失效,以防止剧毒介质或者高渗透和高温介质等外漏而危及操作人员,实现了有效且安全的密封。


