授权公布号:CN215215019U
一种新型复合式高速进排气阀阻尼结构
有效
申请
2021-05-21
申请公布
1970-01-01
授权
2021-12-17
预估到期
2031-05-21
| 申请号 | CN202121093040.7 |
| 申请日 | 2021-05-21 |
| 授权公布号 | CN215215019U |
| 授权公告日 | 2021-12-17 |
| 分类号 | F16K47/02;F16K24/04;F16K27/08;F16K31/20 |
| 分类 | 工程元件或部件;为产生和保持机器或设备的有效运行的一般措施;一般绝热; |
| 申请人名称 | 北京市阀门总厂股份有限公司 |
| 申请人地址 | 北京市大兴区庞各庄镇绿海路3号 |
专利法律状态
2021-12-17
授权
状态信息
授权
摘要
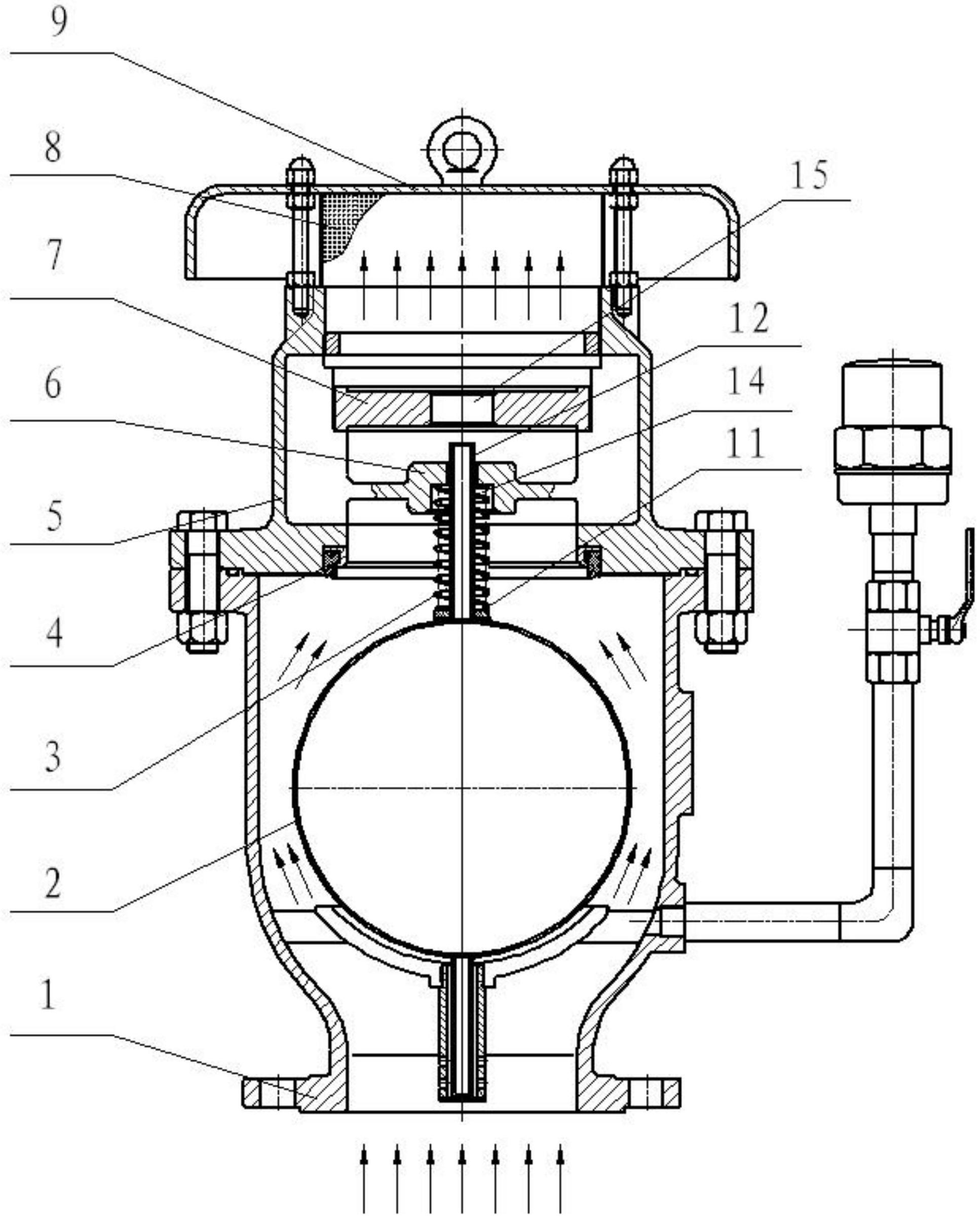
一种新型复合式高速进排气阀阻尼结构,包括阀体、阀盖,阀体上侧设有阀盖,阀盖与阀体内部相接触的端面位置安装有阀座,阀座与阀盖之间设有阀座圈,阀盖底部与阀座配合的位置设有限位凸起,阀盖顶部设有防护罩,防护罩内安装有滤网,滤网与阀座之间设有缓冲板,阀盖内位于缓冲板下侧的位置设有支架,阀体内部设有浮球,浮球的顶部设有弹簧座,弹簧座上安装有上导杆,上导杆外侧套装有弹簧。本实用新型减小了浮球对阀座的冲击力,进而减小了阀座和浮球的更换频率,增加了阀门的使用寿命,降低了生产运营和维修的成本,同时通过阀座压延结构的设计大大减小了阀座因浮球的频繁撞击及老化失去弹性,造成脱落的情况,进而减小了阀门密封失效的概率。


