授权公布号:CN207016449U
一种墨水灌装工位
有效
申请
2017-07-07
申请公布
1970-01-01
授权
2018-02-16
预估到期
2027-07-07
| 申请号 | CN201720815031.1 |
| 申请日 | 2017-07-07 |
| 授权公布号 | CN207016449U |
| 授权公告日 | 2018-02-16 |
| 分类号 | B67C3/26 |
| 分类 | 开启或封闭瓶子、罐或类似的容器;液体的贮运; |
| 申请人名称 | 广东金万年文具有限公司 |
| 申请人地址 | 广东省汕头市潮南区泗黄村广汕公路南侧 |
专利法律状态
2018-02-16
授权
状态信息
授权
摘要
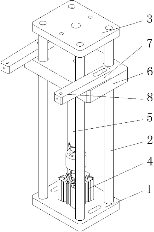
本实用新型公开了一种墨水灌装工位,包括底座,所述底座的顶面上设有立柱,所述立柱的顶端设有顶板,所述底座的顶面中心处安装有气缸,所述气缸的顶部输出端固定连接有推拉杆,所述推拉杆的顶端连接有托板,所述托板活动套接在立柱上,所述托板的顶面上设有两个悬臂块,所述悬臂块的悬臂末端设有灌装口。本实用新型采用气缸定位压紧的双灌装口的结构,可实现灌装口与墨水瓶口的快速对接与分离,工作效率高,产品品质稳定,采用可更换的悬臂块,便于适应多种墨水瓶内盖结构的需要,使用和调整方便。


